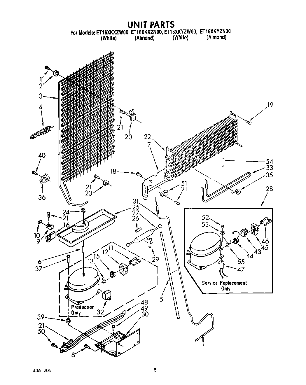
| 1 | WP488163 Whirlpool Refrigerator Screw |
| 2 | Bumper |
| 3 | Condenser |
| 4 | Clip, Tube (2) |
| 5 | WP2002171 Whirlpool Refrigerator Sleeve |
| 6 | Spacer |
| 7 | Heat Shield Evaporator |
| 8 | WP489427 Whirlpool Refrigerator Screw |
| 9 | Clamp Tube |
| 10 | Dampener |
| 13 | Overload |
| 16 | WP717253 Whirlpool Dishwasher Connector |
| 19 | WP489174 Whirlpool Refrigerator Screw |
| 20 | Bracket, Condenser |
| 21 | WP489478 Whirlpool Refrigerator Screw |
| 22 | Evaporator |
| 23 | 4386951 Whirlpool Refrigerator Clip |
| 24 | 285002 Whirlpool Nut |
| 25 | Evaporator Tray |
| 26 | Restrictor Sleeve |
| 27 | W10843121 Whirlpool Refrigerator Tube |
| 28 | Compressor (Includes Items 43, 44, 45, 46, 47, 52, 53, & 55) (Also Order 482801 Tray Mounting Kit & |
| 29 | Clamp, Dryer |
| 30 | Unit Mounting Plate |
| 31 | Exchanger, Heat |
| 33 | Heater, Defrost |
| 35 | WPW10225581 Whirlpool Refrigerator Defrost Thermostat |
| 36 | Clip, Tube |
| 39 | 876811 Whirlpool Grommet |
| 40 | WP965173 Whirlpool Dishwasher Screw |
| 43 | WP2262181 Whirlpool Refrigerator Start Relay |
| 44 | Overload |
| 45 | Cover |
| 46 | Strap |
| 47 | WPW10662129 Whirlpool Refrigerator Run Capacitor |
| 48 | Unit Mounting Rail |
| 49 | WP489128 Whirlpool Refrigerator Screw |
| 50 | 489340 Whirlpool Refrigerator Screw |
| 51 | Tube, Clamp |
| 52 | Nut |
| 53 | Washer |
| 54 | Support, Heater |
| 55 | WP978025 Whirlpool Refrigerator Valve |
| 55 | Overload Spring |
| 55 | VALVE, ACCESS (5/8``) |
| 55 | 978030 Whirlpool Refrigerator Valve |
| 55 | 978027 Whirlpool Refrigerator Primary Valve |
| 55 | 978026 Whirlpool Refrigerator Primary Valve |
| 55 | VALVE, ACCESS (1/2``) |
| 55 | 876764 Whirlpool Refrigerator Primary Valve |