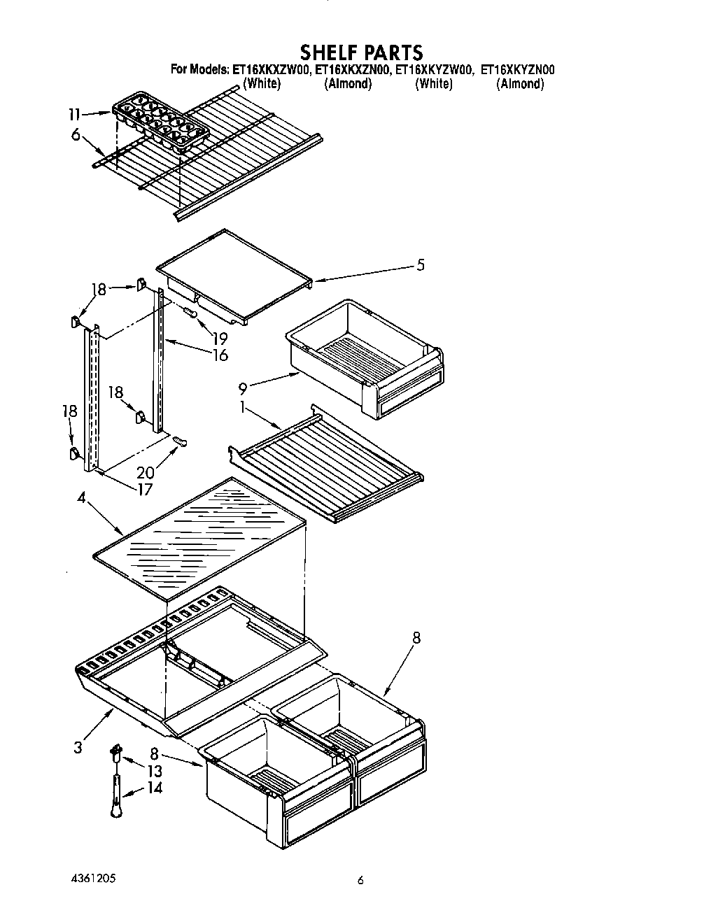
ET16XKYZW00 05 – SHELF