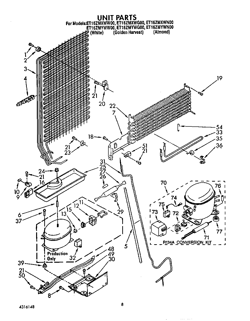
ET16ZMXWW00 07 – UNIT

ET16ZMXWW00 07 – UNIT