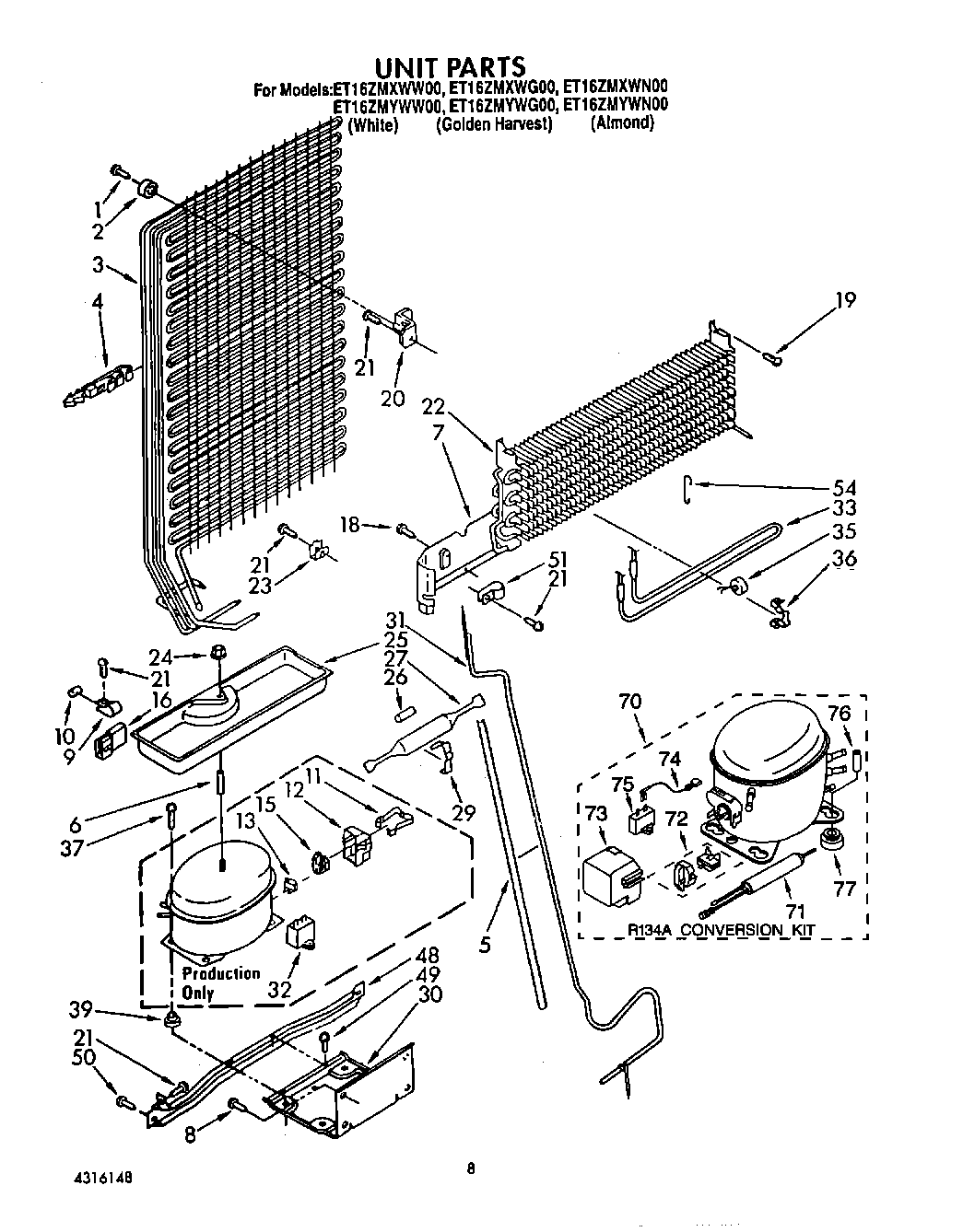
ET16ZMYWG00 07 – UNIT

ET16ZMYWG00 07 – UNIT