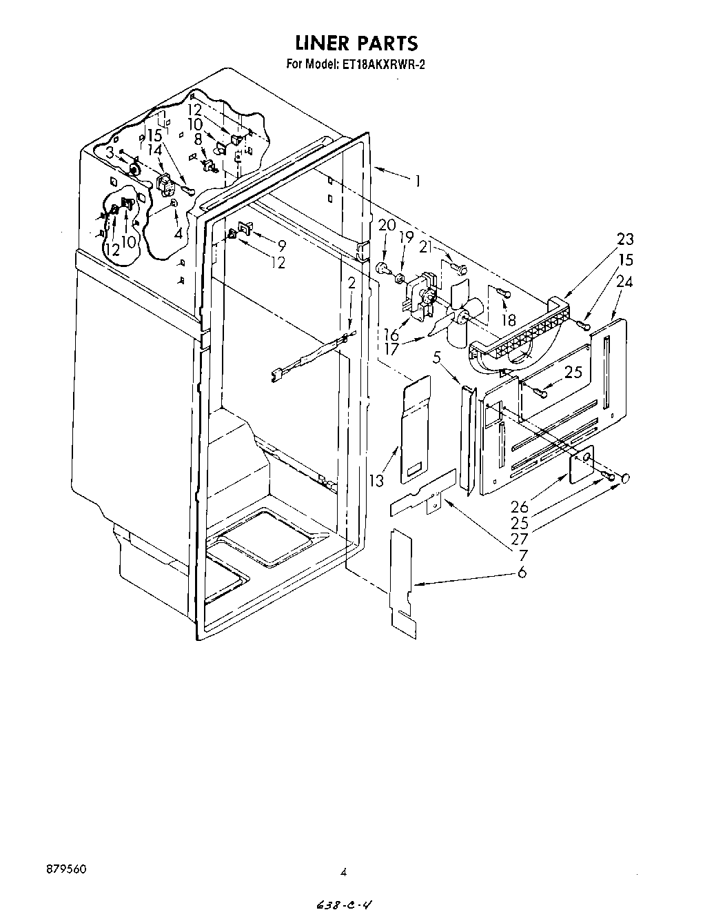
ET18AKXRWR2 03 – LINER