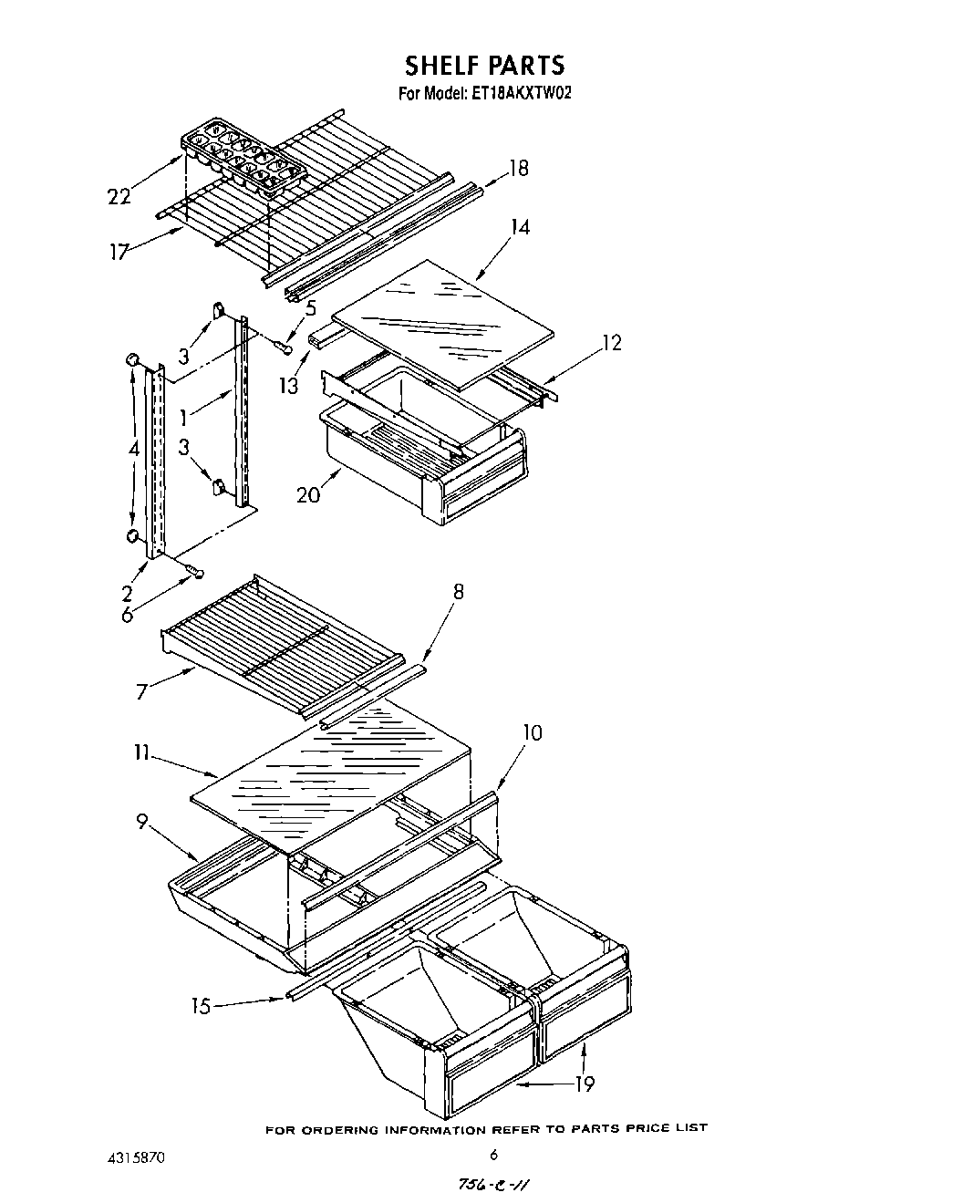
ET18AKXTF02 05 – SHELF