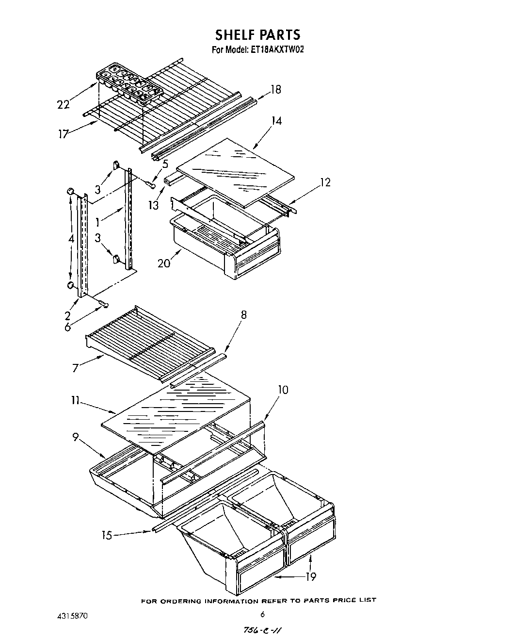
ET18AKXTG02 05 – SHELF