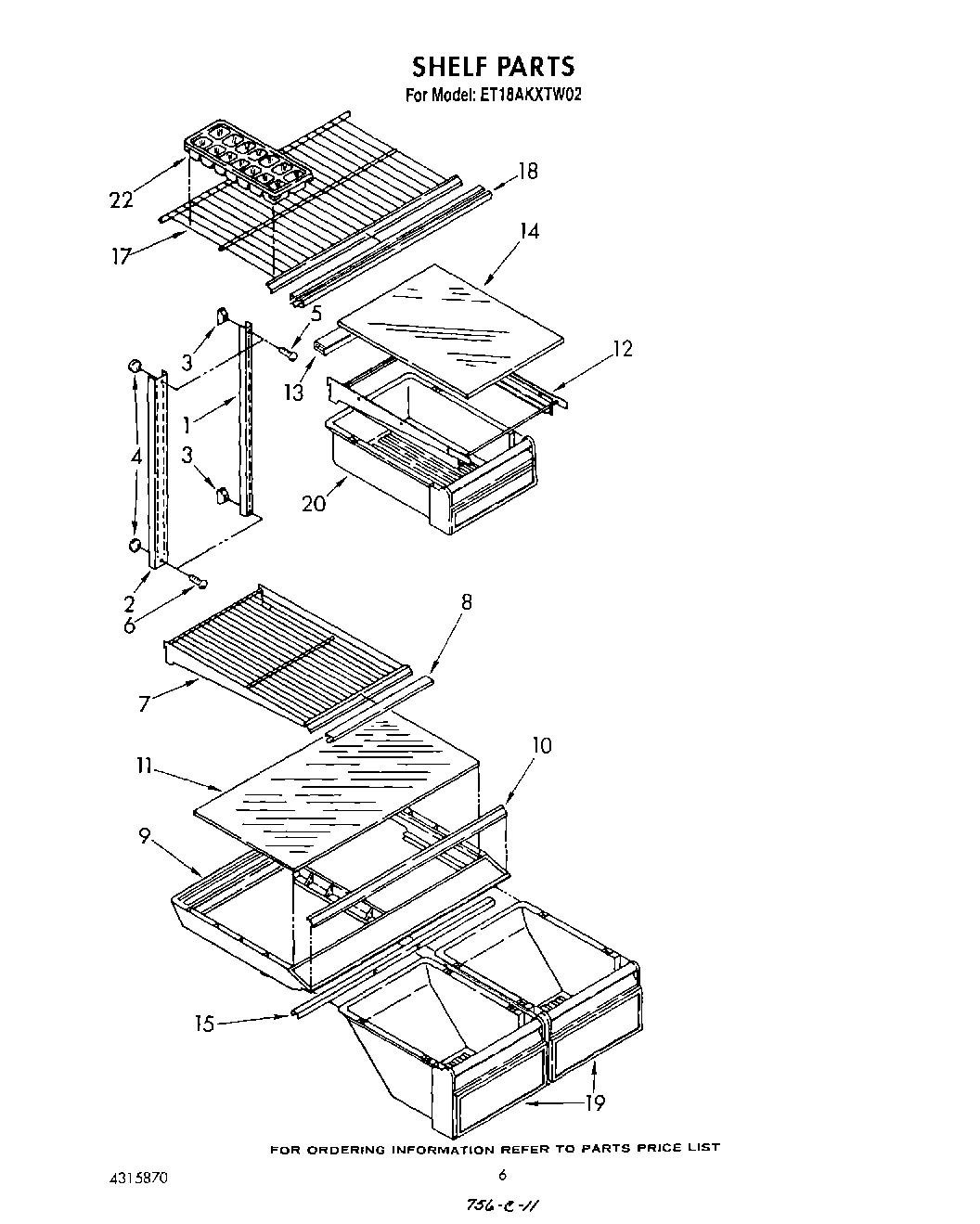
ET18AKXTM02 05 – SHELF