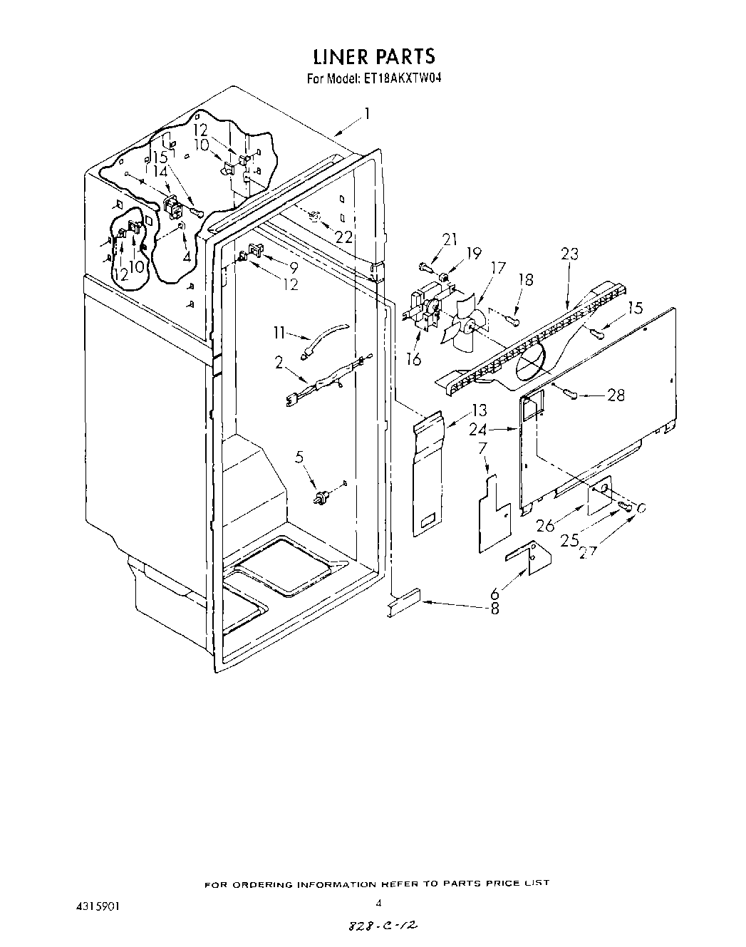
ET18AKXTM04 03 – LINER