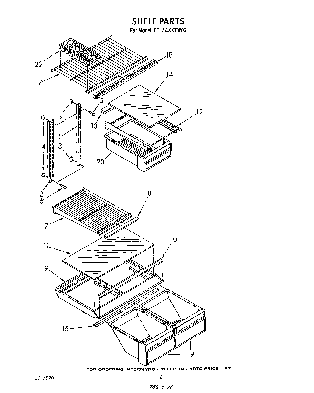
ET18AKXTN02 05 – SHELF