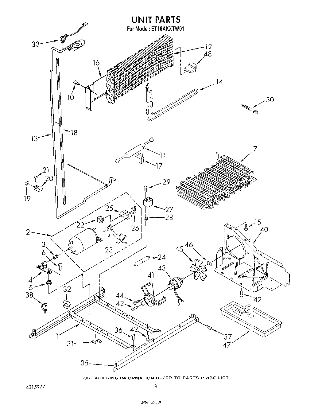
ET18AKXTW01 07 – UNIT