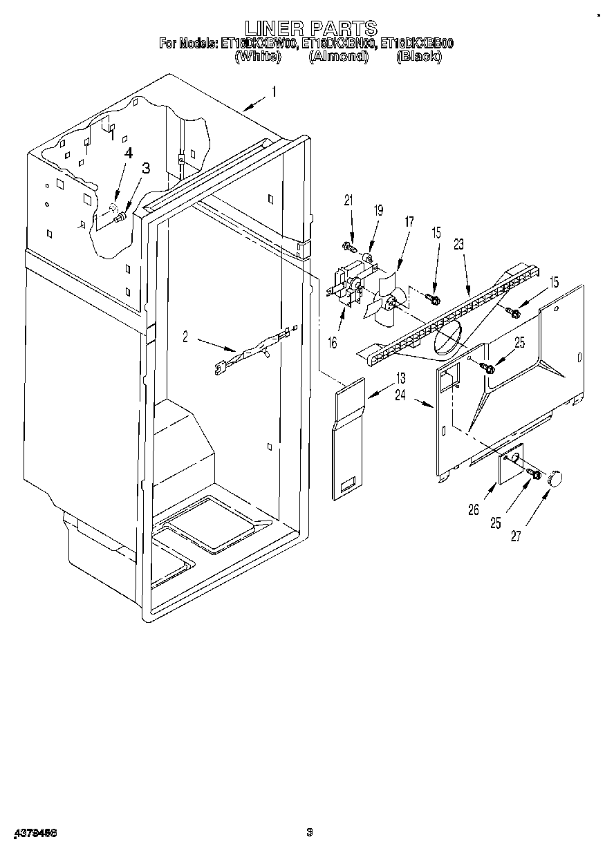
ET18DKXBB00 02 – LINER