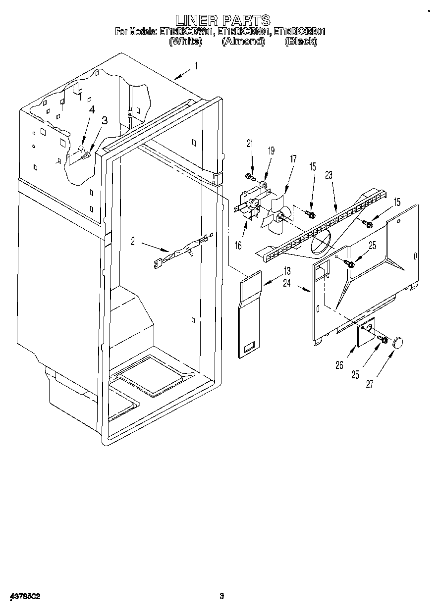
ET18DKXBB01 02 – LINER