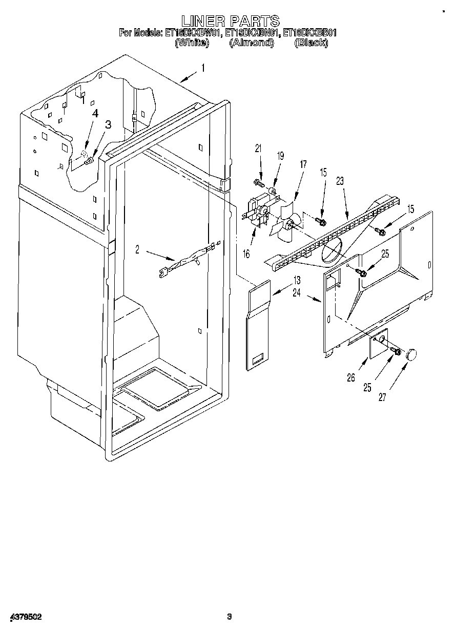
ET18DKXBW01 02 – LINER