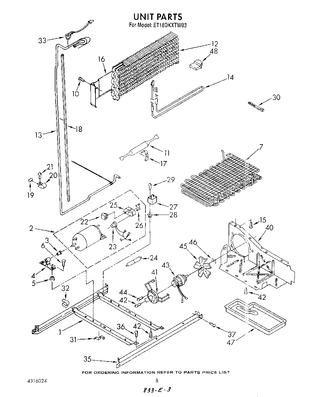
ET18DKXTG03 06 – UNIT