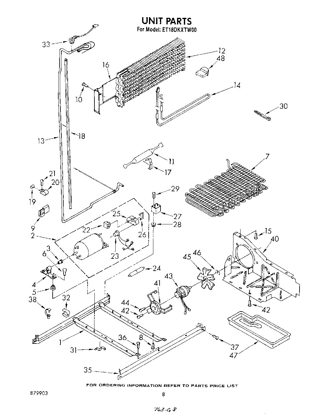
ET18DKXTW00 06 – UNIT