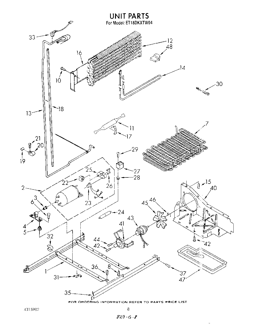
ET18DKXTW04 06 – UNIT