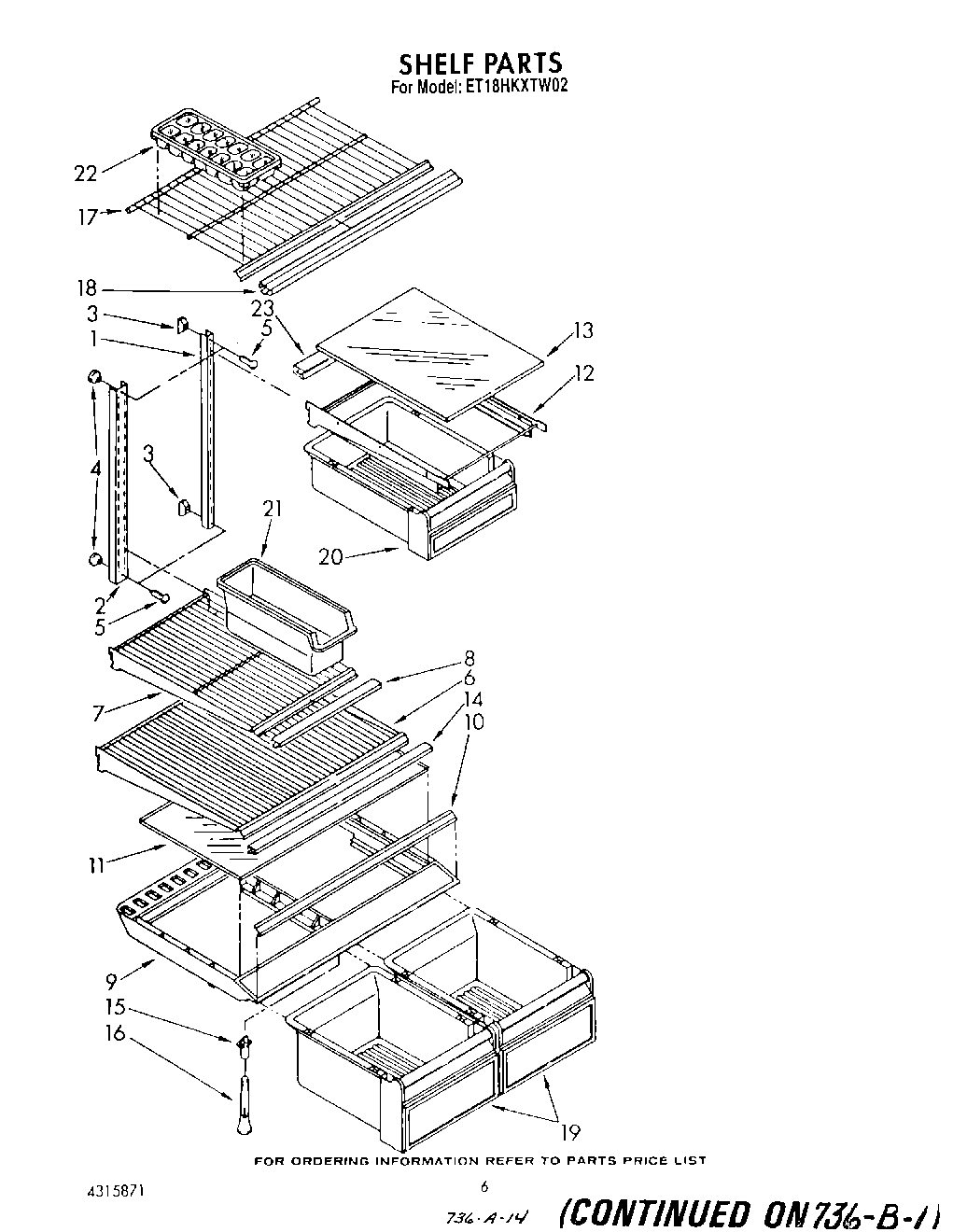
ET18HKXTG02 05 – SHELF