ET18HMXTN00 09 – ICEMAKER, LIT/OPTIONALadmin2025-04-26T09:55:39+00:00ET18HMXTN00 09 – ICEMAKER, LIT/OPTIONAL
Products
| Position | Product |
|---|
| Torx Key |
| WPL LIT628107 |
| WPL LIT879896 |
| WPL LIT1120592 |
| WPL LIT1120687 |
| WPL LIT1118733 |
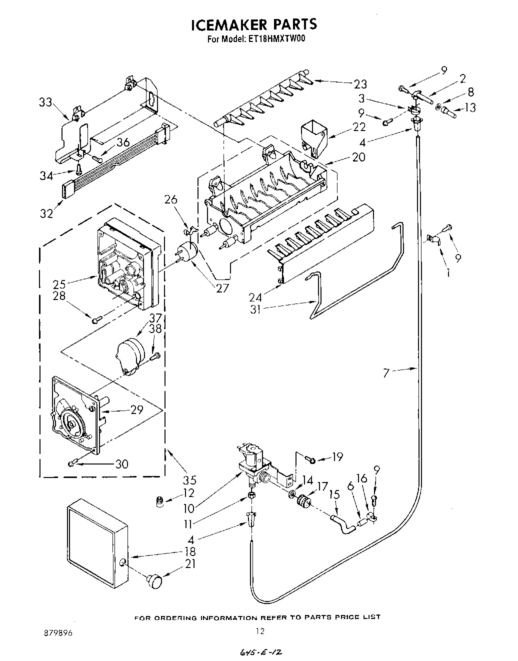
| 1 | WP488366 Whirlpool Refrigerator Clamp |
| 2 | WP2196157 Whirlpool Fill Tube |
| 3 | WP488878 Whirlpool Refrigerator Tube Clamp |
| 4 | 4387491 Whirlpool Refrigerator Insert |
| 6 | WP2158826 Whirlpool Refrigerator Dampener |
| 7 | W10823511 Whirlpool Refrigerator Water Tube |
| 8 | WP1106508 Whirlpool Refrigerator Gasket |
| 9 | WP489069 Whirlpool Compactor Screw |
| 10 | 4318047 Whirlpool Water Valve |
| 11 | WP627018 Whirlpool Refrigerator Nut |
| 12 | Wire Connector |
| 13 | Tube, Water Inlet |
| 14 | WP16123 Whirlpool Washer |
| 15 | Tube, Inlet Valve |
| 16 | Clamp Tube |
| 17 | Nut, Valve |
| 18 | WPW10289690 Whirlpool Ice Maker Cover |
| 19 | WPW10141625 Whirlpool Refrigerator Screw Assembly |
| 20 | WPW10190929 Whirlpool Refrigerator Ice Maker Mold |
| 21 | Knob, Water |
| 22 | WP628356 Whirlpool Refrigerator Fill Cup |
| 23 | WP627843 Whirlpool Refrigerator Ejector Arm |
| 24 | WP2182124 Whirlpool Refrigerator Stripper Arm |
| 25 | WP2195914 Whirlpool Refrigerator Ice Maker Housing |
| 26 | WP2315522 Whirlpool Refrigerator Clip |
| 27 | WP627985 Whirlpool Icemaker Cycling Thermostat |
| 27 | Cement Alumilastic) |
| 28 | WPL 489163 |
| 30 | WP681249 Whirlpool Screw Assembly |
| 31 | WP627792 Whirlpool Refrigerator Shut Off Arm |
| 32 | WP2187464 Whirlpool Refrigerator Wire Harness |
| 33 | Shield, Heat |
| 34 | WP489128 Whirlpool Refrigerator Screw |
| 35 | W10190935 Whirlpool Refrigerator Icemaker Motor Module Assembly |
| 36 | Screw, 8-15 x 1/2 (4) |
| 38 | WP503695 Whirlpool Refrigerator Sealer |
| 38 | 489136 Whirlpool Refrigerator Screw |
| 38 | Golden Harvest (Uncut) |
| 38 | Silicone (Spray) |
| 38 | Toast |
| 38 | Paint, Spray (13 Oz.) (Platinum) |
| 38 | Golden Harvest |
| 38 | 350930 Whirlpool White Spray Paint |
| 38 | 72113 Whirlpool Touch-Up Paint |
| 38 | 72110 Whirlpool Dryer Touch-Up Paint, Golden Harvest 6 Oz |
| 38 | Almond (Uncut) |
| 38 | Leveler (Thinner) |
| 38 | WP72107 Whirlpool Touchup |
| 38 | 799344 Whirlpool Refrigerator Paint |
| 38 | 72017 Whirlpool Appliance Touch-Up Paint White |
| 38 | Enamal, Toast (1 Qt. Uncut) |
| 38 | Platinum (Uncut) |
| 38 | WP505587 Whirlpool Refrigerator Sealer |
| 38 | WP542638 Whirlpool Refrigerator Grease |
| 38 | TAPE, VINYL (3/4 X 108``) |
| 38 | CEMENT, ALUMILASTIC (1 1/4 OZ.) |
| 38 | WPL 799832 |
| 38 | WPL 799833 |
| 38 | WPL 876029 |
| 38 | 876370 Whirlpool Refrigerator Insulation |
| 38 | 833938 Whirlpool Refrigerator Terminal |
| 38 | 606755 Whirlpool Refrigerator Bag |
| 38 | 511873 Whirlpool Refrigerator Paint |
| 38 | 350942 Whirlpool Spray Paint |
| 38 | 212643 Whirlpool Refrigerator Permagum Sealer |
| 38 | WPL 72112 |
| 38 | 285006 Whirlpool Spray |
| 38 | 72032 Whirlpool Touch Up Paint Black |
| 38 | 350956 Whirlpool Spray Assembly |