ET18HMXWN00 07 – UNIT

ET18HMXWN00 07 – UNIT

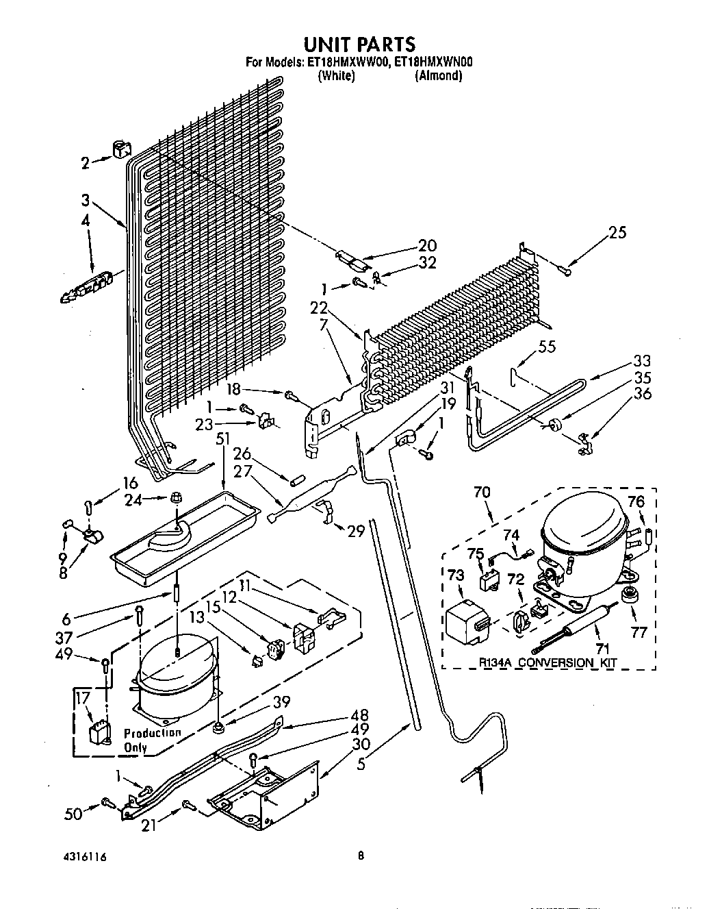
Products

PositionProduct
1WP489478 Whirlpool Refrigerator Screw
2Bumper (2)
3Condenser & Precooler Assembly
4Clip, Tube (2)
5WP2002171 Whirlpool Refrigerator Sleeve
6Spacer
7Heat Shield Evaporator
8Clamp Tube
9Dampener
11Strap
12Cover
13Overload
15WP2262181 Whirlpool Refrigerator Start Relay
16Screw, 8-32 x 1/2
17WPW10662129 Whirlpool Refrigerator Run Capacitor
19Tube, Clamp
20Condenser, Stand-Off
21WP489069 Whirlpool Compactor Screw
22Evaporator
234386951 Whirlpool Refrigerator Clip
24285002 Whirlpool Nut
25WP489174 Whirlpool Refrigerator Screw
26Restrictor Sleeve
29Clamp, Dryer
30Unit Mounting Plate
31Exchanger, Heat
32Condenser, Stand-Off
33Heater, Defrost
35WP4387499 Whirlpool Refrigerator Bimetallic Defrost
36Clamp
39876811 Whirlpool Grommet
48Unit Mounting Rail
49WP965173 Whirlpool Dishwasher Screw
50WP489427 Whirlpool Refrigerator Screw
51Evaporator Tray
55Support, Heater
70Installation Kit
70Compressor (Includes Items 71, 72, 73, 74, 75, 76, & 77) (Also Order
70876765 Whirlpool Primary Mounting Kit Refrigerator
71W10843121 Whirlpool Refrigerator Tube
72OVERLOAD
73WP2162358 Whirlpool Refrigerator Terminal Cover
74WP2172890 Whirlpool Refrigerator Wire
75WP4387764 Whirlpool Run Capacitor
76Sleeve (4) (Service Only)
77978026 Whirlpool Refrigerator Primary Valve
77876764 Whirlpool Refrigerator Primary Valve
77978027 Whirlpool Refrigerator Primary Valve
77WP4387558 Whirlpool Refrigerator Compressor Grommet
77VALVE, ACCESS (1/2``)
77VALVE, ACCESS (5/8``)
77WP978025 Whirlpool Refrigerator Valve
77978030 Whirlpool Refrigerator Valve