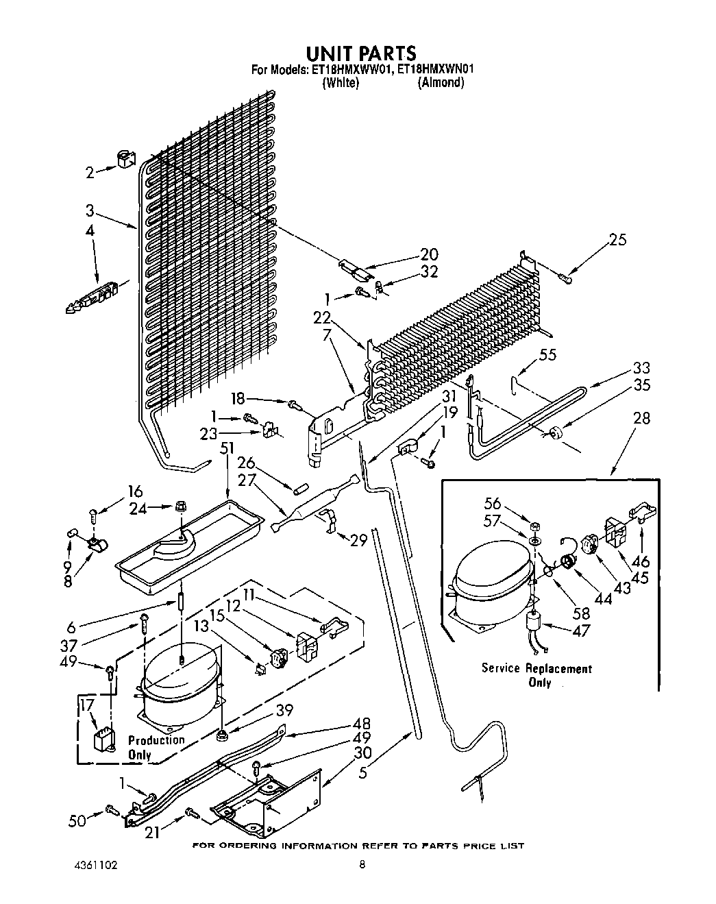
ET18HMXWN01 07 – UNIT