ET18HMXXW00 09 – ICEMAKER, LIT/OPTIONAL

ET18HMXXW00 09 – ICEMAKER, LIT/OPTIONAL

Products

PositionProduct
WPL LIT2160040
WPL LIT2154703
WPL LIT2148174
WPL LIT628107
WPL LIT4361141
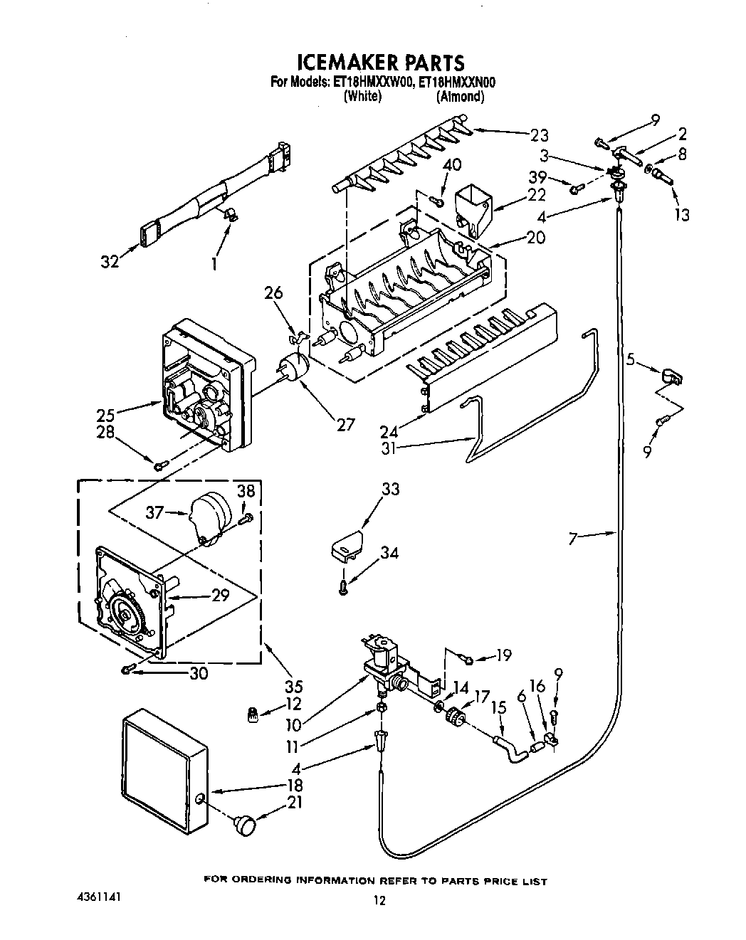
Torx Key
1WP628379 Whirlpool Refrigerator Clip
2WP2196157 Whirlpool Fill Tube
3WP488878 Whirlpool Refrigerator Tube Clamp
44387491 Whirlpool Refrigerator Insert
5WP488366 Whirlpool Refrigerator Clamp
6WP2158826 Whirlpool Refrigerator Dampener
7W10823511 Whirlpool Refrigerator Water Tube
8WP1106508 Whirlpool Refrigerator Gasket
9WP489478 Whirlpool Refrigerator Screw
104318047 Whirlpool Water Valve
11WP627018 Whirlpool Refrigerator Nut
12Wire Connector
13Tube, Water Inlet
14Washer
15Tube, Inlet Valve
16Clamp Tube
17Nut, Valve
18WPW10289690 Whirlpool Ice Maker Cover
19WPW10141625 Whirlpool Refrigerator Screw Assembly
20WPW10190929 Whirlpool Refrigerator Ice Maker Mold
21Knob, Water
22WP628356 Whirlpool Refrigerator Fill Cup
23WP627843 Whirlpool Refrigerator Ejector Arm
24WP2182124 Whirlpool Refrigerator Stripper Arm
25WP2195914 Whirlpool Refrigerator Ice Maker Housing
26WP2315522 Whirlpool Refrigerator Clip
27WP627985 Whirlpool Icemaker Cycling Thermostat
288533917 Whirlpool Refrigerator Screw
30WP681249 Whirlpool Screw Assembly
31WP627792 Whirlpool Refrigerator Shut Off Arm
32WP2187501 Whirlpool Refrigerator Wire Harness
33W11500948 Whirlpool Refrigerator Bracket
34Screw, 8-32 x 27/64
35W10190935 Whirlpool Refrigerator Icemaker Motor Module Assembly
38489136 Whirlpool Refrigerator Screw
39Screw, 8-15 x 1/2 (4)
40212643 Whirlpool Refrigerator Permagum Sealer
40WP488163 Whirlpool Refrigerator Screw
40WP72107 Whirlpool Touchup
4072017 Whirlpool Appliance Touch-Up Paint White
40350956 Whirlpool Spray Assembly
40350930 Whirlpool White Spray Paint
40876370 Whirlpool Refrigerator Insulation
40Leveler (Thinner)
4072032 Whirlpool Touch Up Paint Black
40WP503695 Whirlpool Refrigerator Sealer
40WP505587 Whirlpool Refrigerator Sealer
40WP542638 Whirlpool Refrigerator Grease
40833938 Whirlpool Refrigerator Terminal
40TAPE, VINYL (3/4 X 108``)
40CEMENT, ALUMILASTIC (1 1/4 OZ.)
40Enamel, Black (1 Qt. Uncut)
40WPL 799833
40WPL 876029
40606755 Whirlpool Refrigerator Bag
40Almond (Uncut)
40350942 Whirlpool Spray Paint
40511873 Whirlpool Refrigerator Paint
40285006 Whirlpool Spray
40799344 Whirlpool Refrigerator Paint