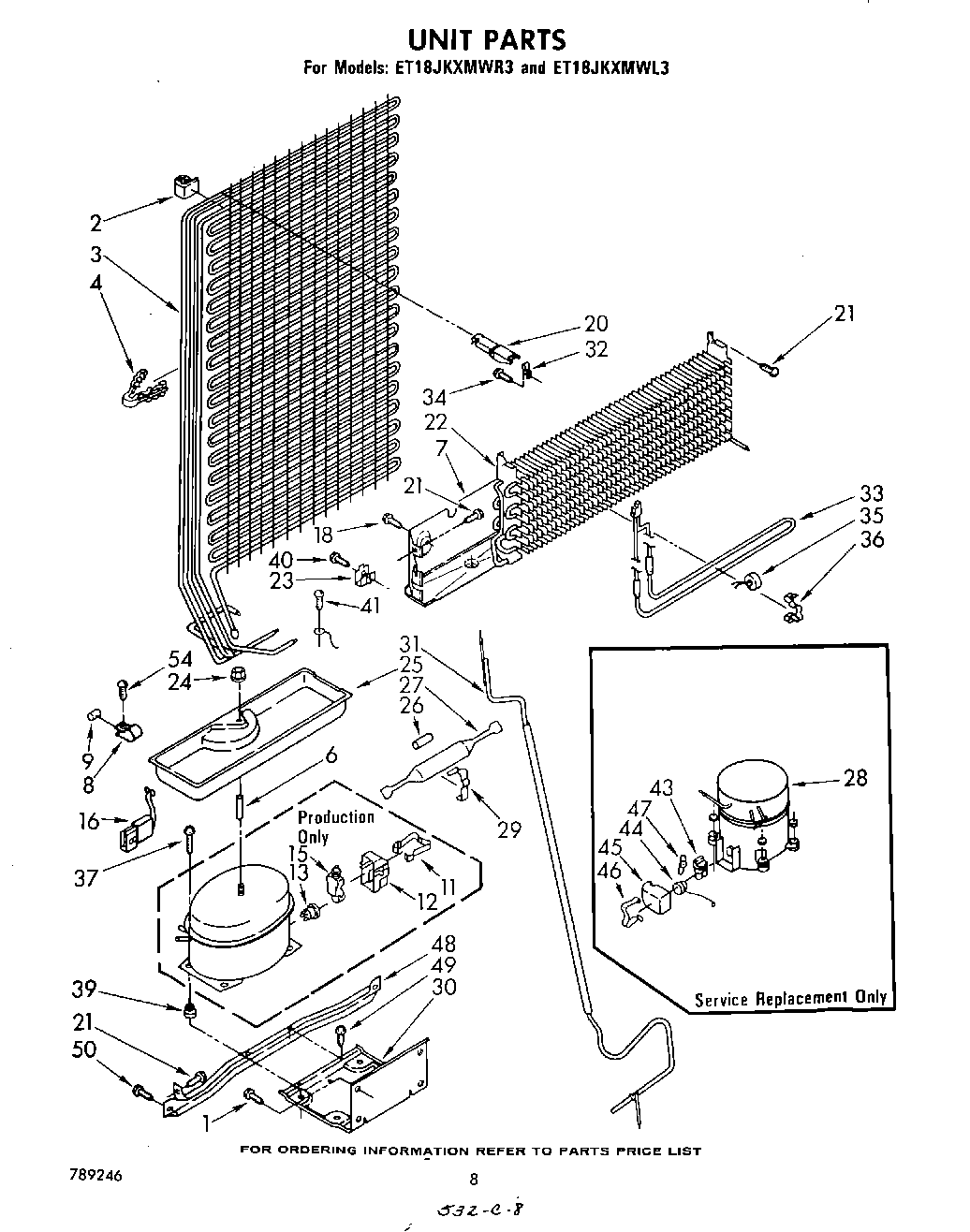
ET18JKXMWR3 07 – UNIT