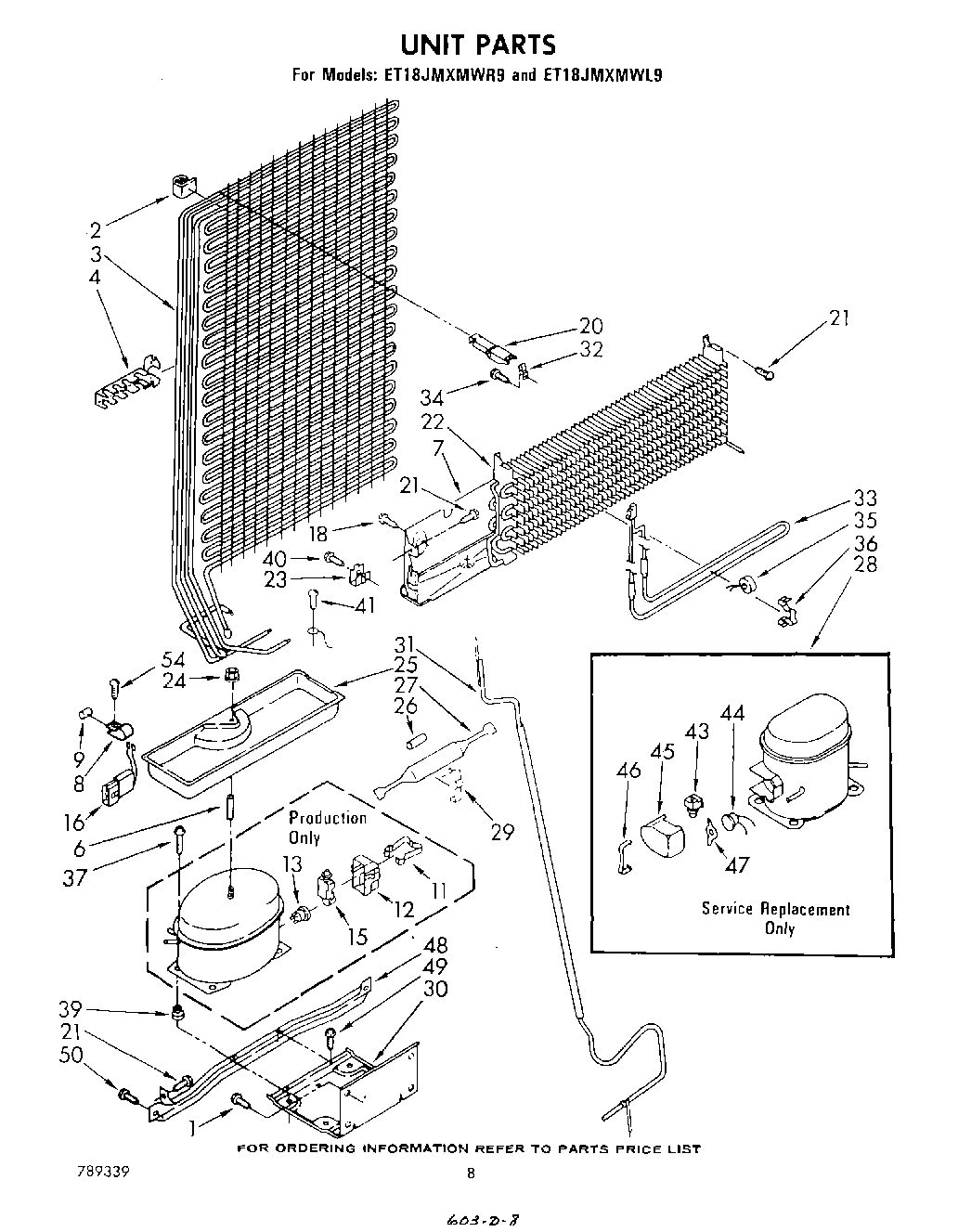
| 1 | WP250830 Whirlpool Refrigerator Screw |
| 2 | Bumper (2) |
| 3 | Condenser & Precooler Assembly |
| 4 | Clip, Tube (2) |
| 6 | Spacer |
| 7 | Heat Shield Evaporator |
| 8 | Clamp Tube |
| 9 | Dampener |
| 11 | Strap |
| 12 | Cover, Terminal |
| 13 | Overload |
| 15 | Relay |
| 16 | Housing Plug |
| 20 | Condenser, Stand-Off |
| 21 | W11624204 Whirlpool Screw |
| 22 | Evaporator |
| 23 | 4386951 Whirlpool Refrigerator Clip |
| 24 | WP487939 Whirlpool Refrigerator Nut |
| 25 | Evaporator Tray |
| 26 | Restrictor Sleeve |
| 27 | W10843121 Whirlpool Refrigerator Tube |
| 28 | W10439652 Whirlpool Refrigerator Compressor |
| 29 | Drier Clamp |
| 30 | Unit Mounting Plate |
| 31 | Exchanger, Heat |
| 32 | Clip, Stand Off |
| 33 | Heater, Defrost |
| 34 | Screw, 8 x 3/8 |
| 35 | WP4387499 Whirlpool Refrigerator Bimetallic Defrost |
| 36 | Clamp |
| 39 | 876811 Whirlpool Grommet |
| 40 | WP489069 Whirlpool Compactor Screw |
| 41 | 303776 Whirlpool Dishwasher Screw |
| 43 | Relay |
| 44 | Overload |
| 45 | Cover, Terminal |
| 46 | Cover, Spring |
| 47 | Spring, Overload |
| 48 | Rail, Unit Mounting |
| 49 | WP965173 Whirlpool Dishwasher Screw |
| 50 | Screw, 1/4-28 x 1 |
| 54 | 978026 Whirlpool Refrigerator Primary Valve |
| 54 | 876764 Whirlpool Refrigerator Primary Valve |
| 54 | 978027 Whirlpool Refrigerator Primary Valve |
| 54 | 978030 Whirlpool Refrigerator Valve |
| 54 | WP978025 Whirlpool Refrigerator Valve |
| 54 | VALVE, ACCESS (1/2``) |
| 54 | VALVE, ACCESS (5/8``) |
| 54 | Screw, 8-32 x 1/2 |