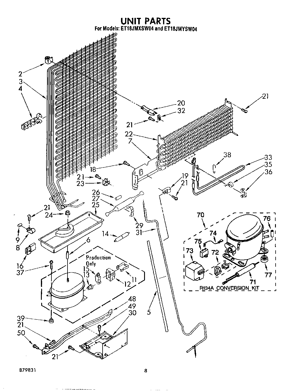
ET18JMXSW04 07 – UNIT