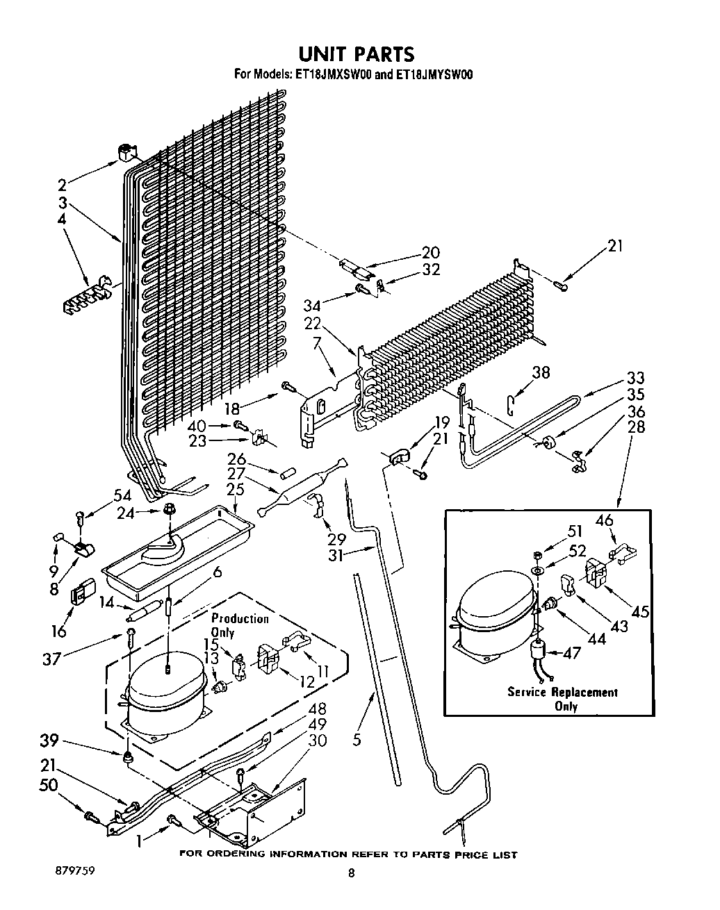
ET18JMYSF00 07 – UNIT