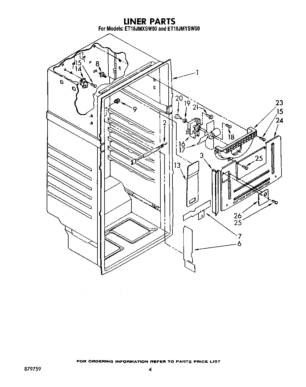
ET18JMYSG00 03 – LINER