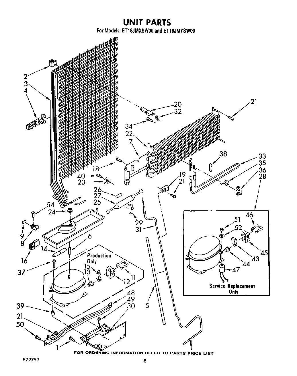
ET18JMYSG00 07 – UNIT