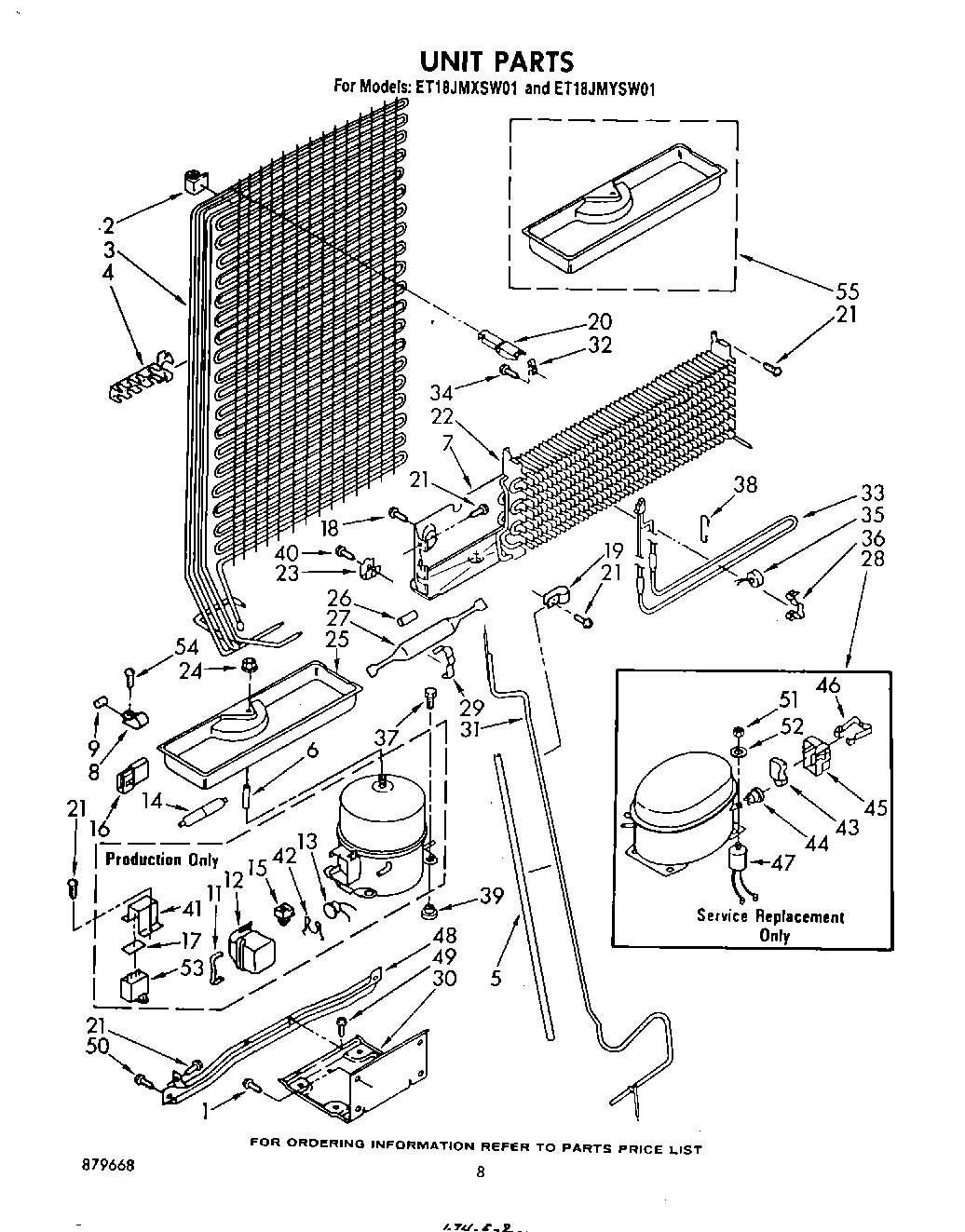
ET18JMYSN01 07 – UNIT