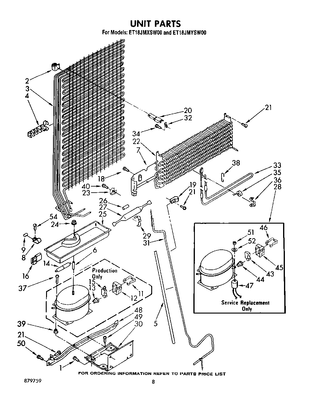
ET18JMYSW00 07 – UNIT