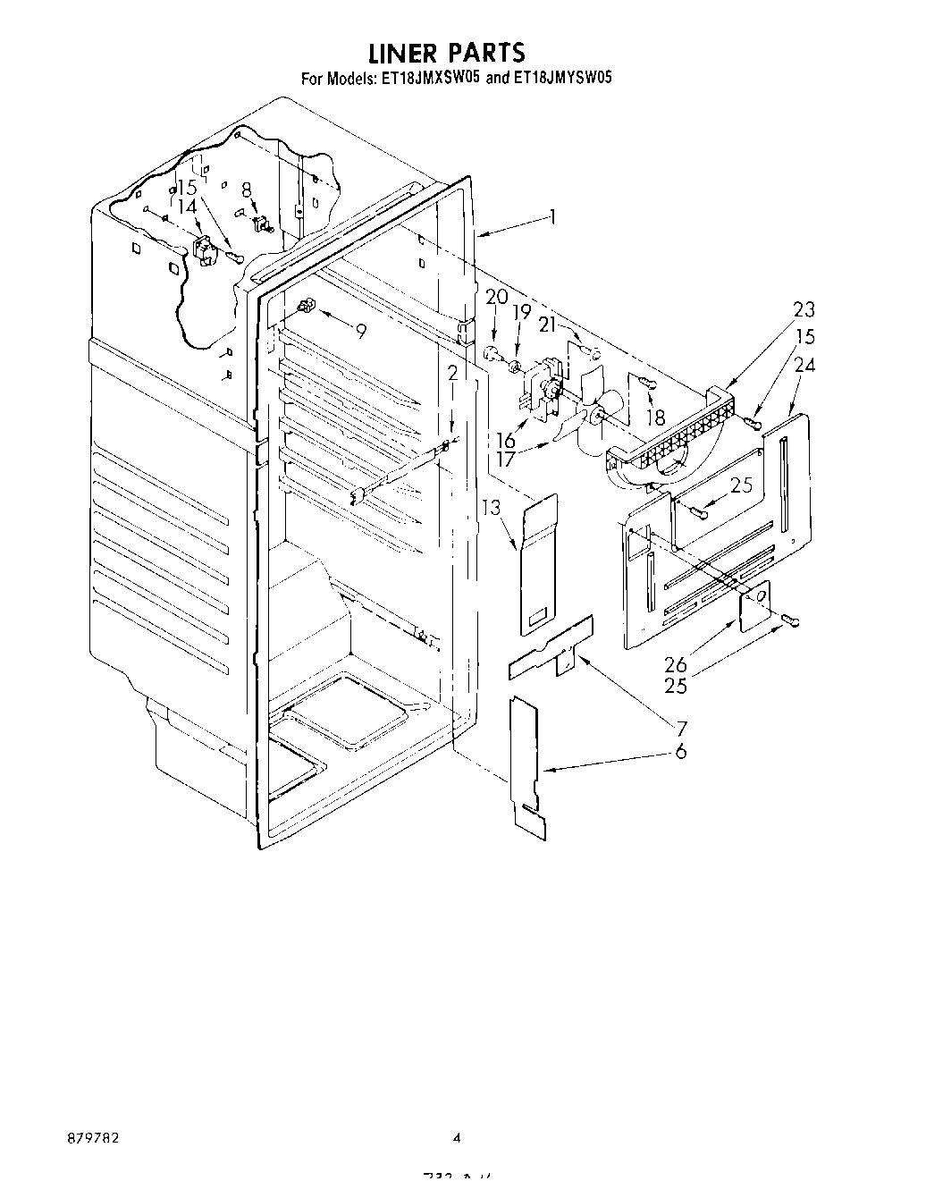
ET18JMYSW05 03 – LINER