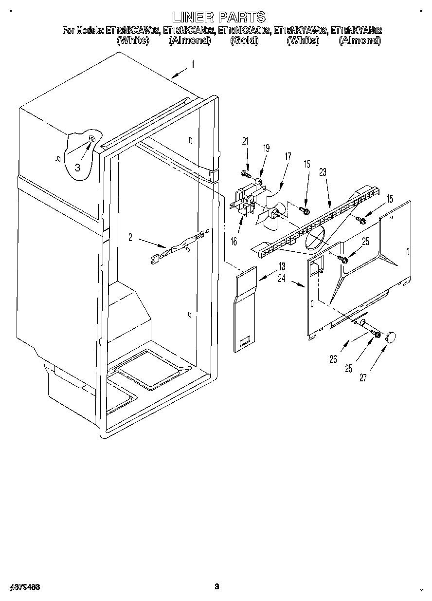
ET18NKXAG02 02 – LINER