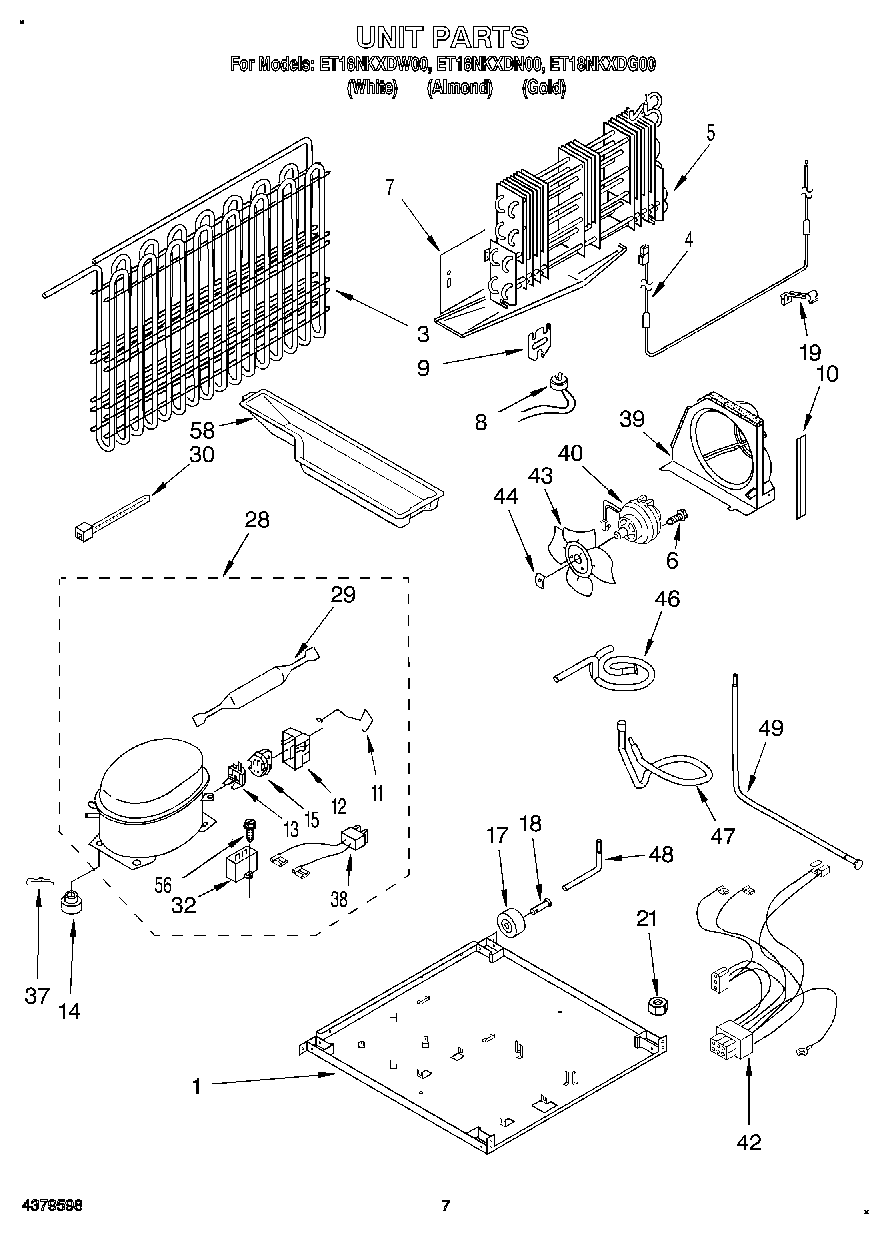
ET18NKXDN00 04 – UNIT