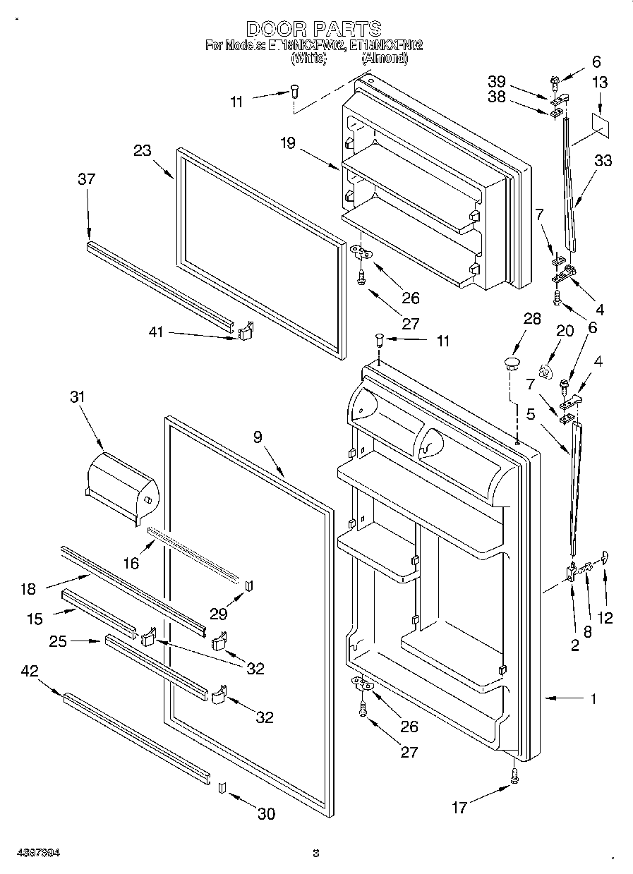
ET18NKXFW02 02 – DOOR