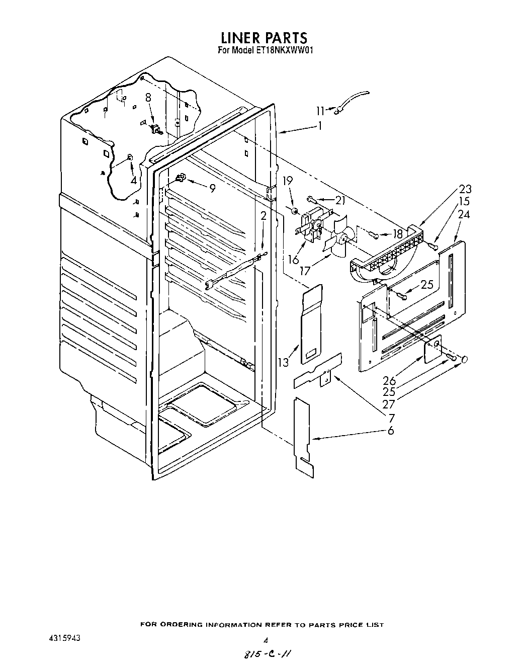
ET18NKXWN01 03 – LINER