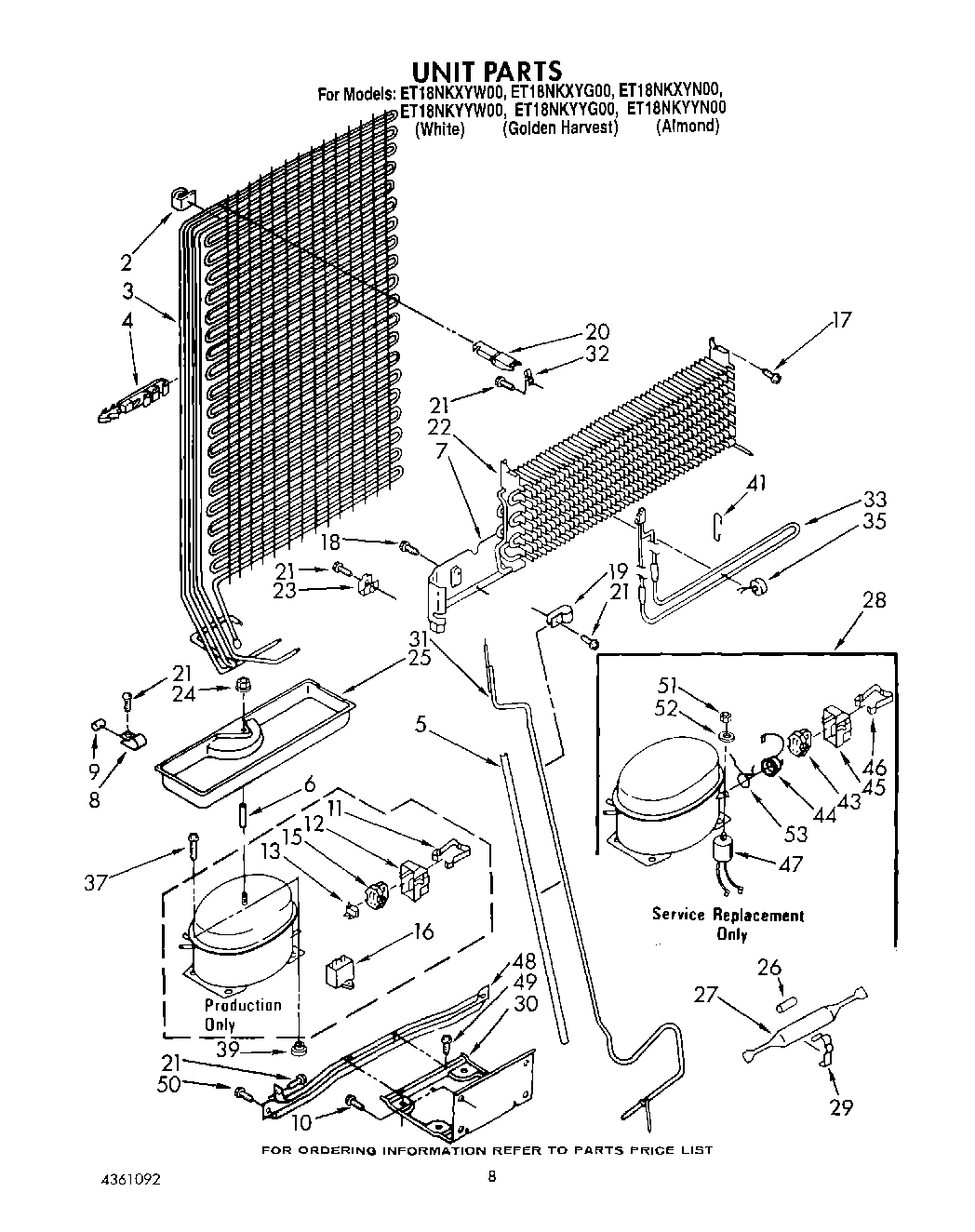
ET18NKXYG00 07 – UNIT