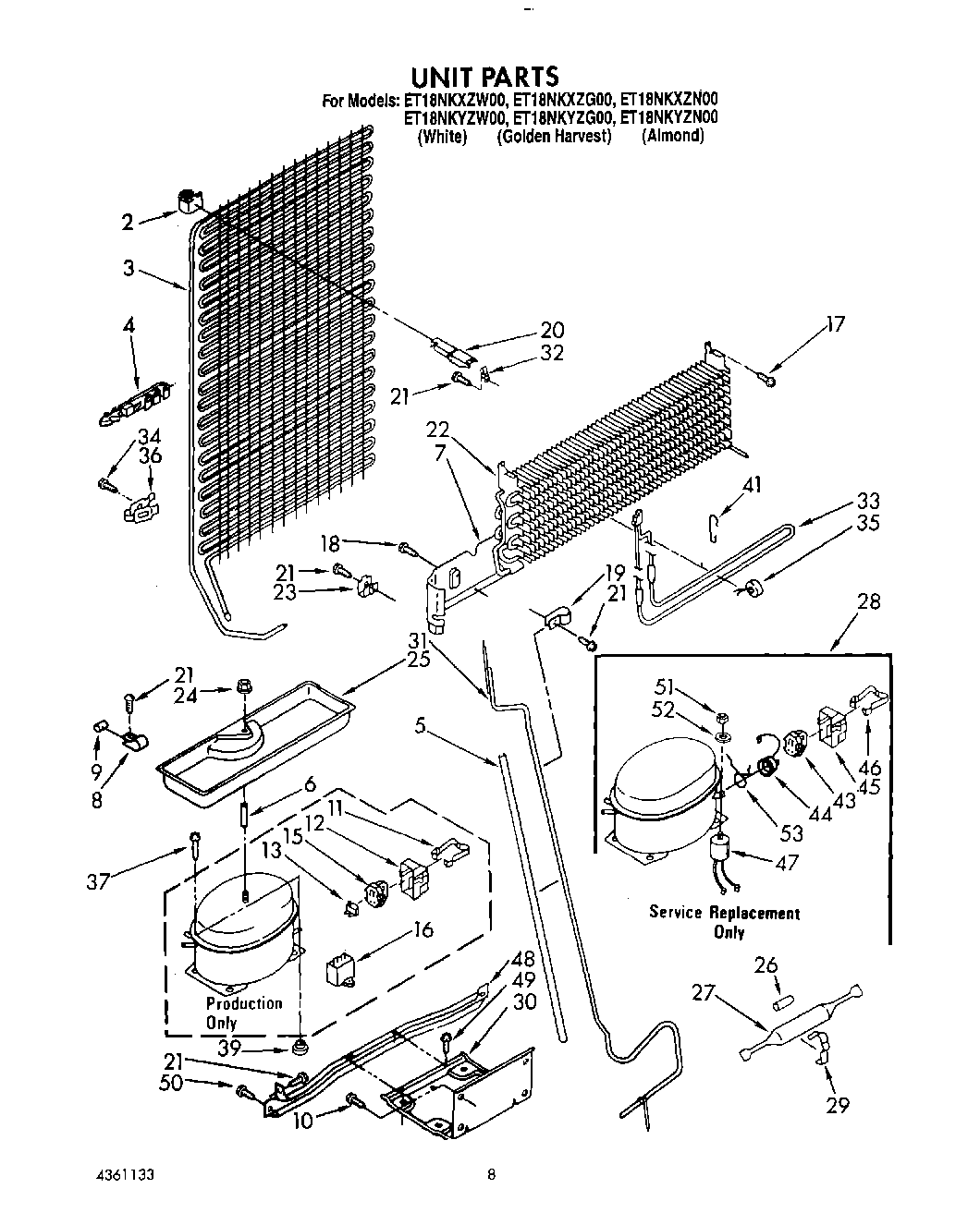
ET18NKXZG00 07 – UNIT