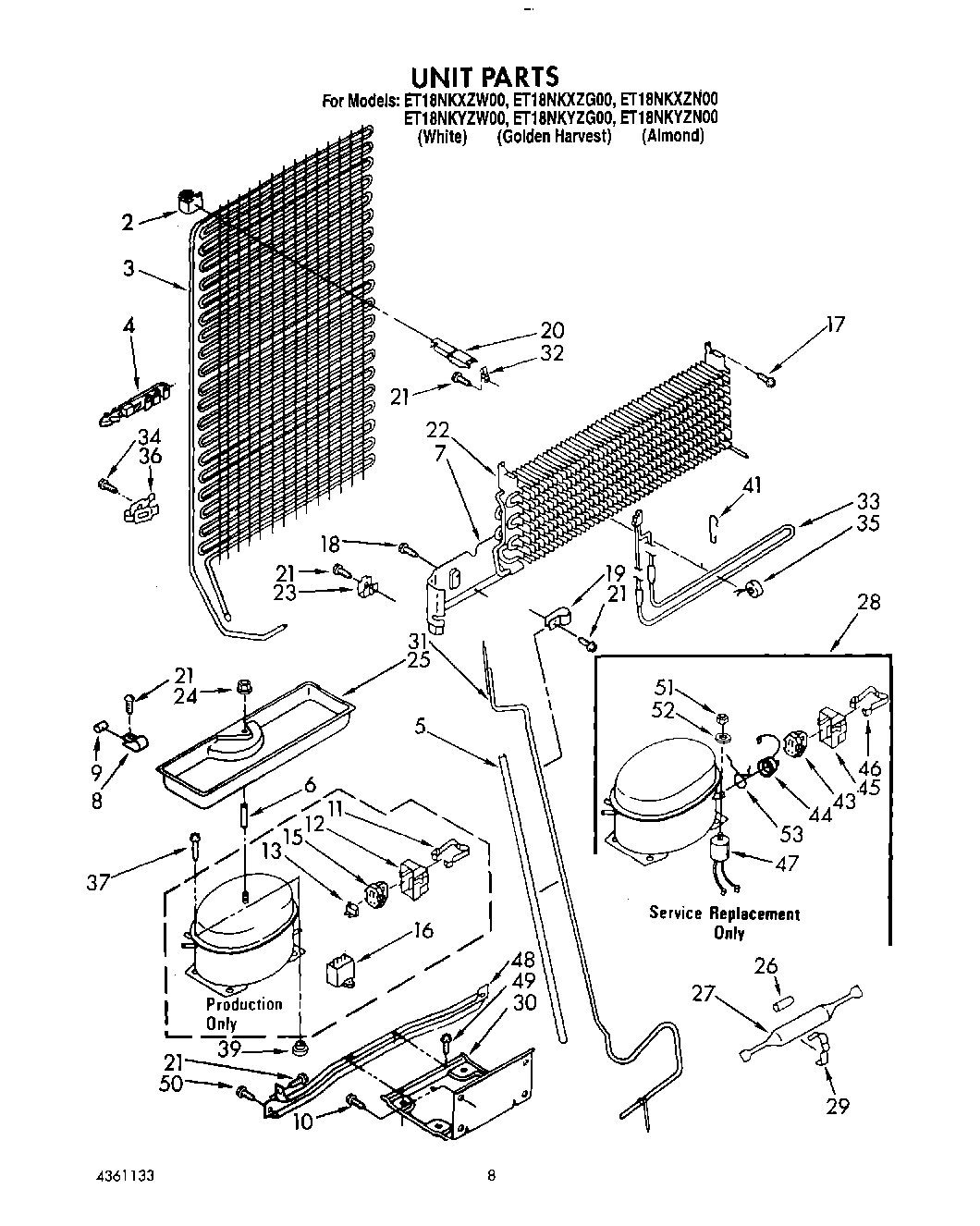
ET18NKXZN00 07 – UNIT