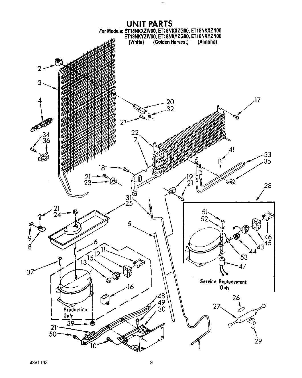
ET18NKXZW00 07 – UNIT