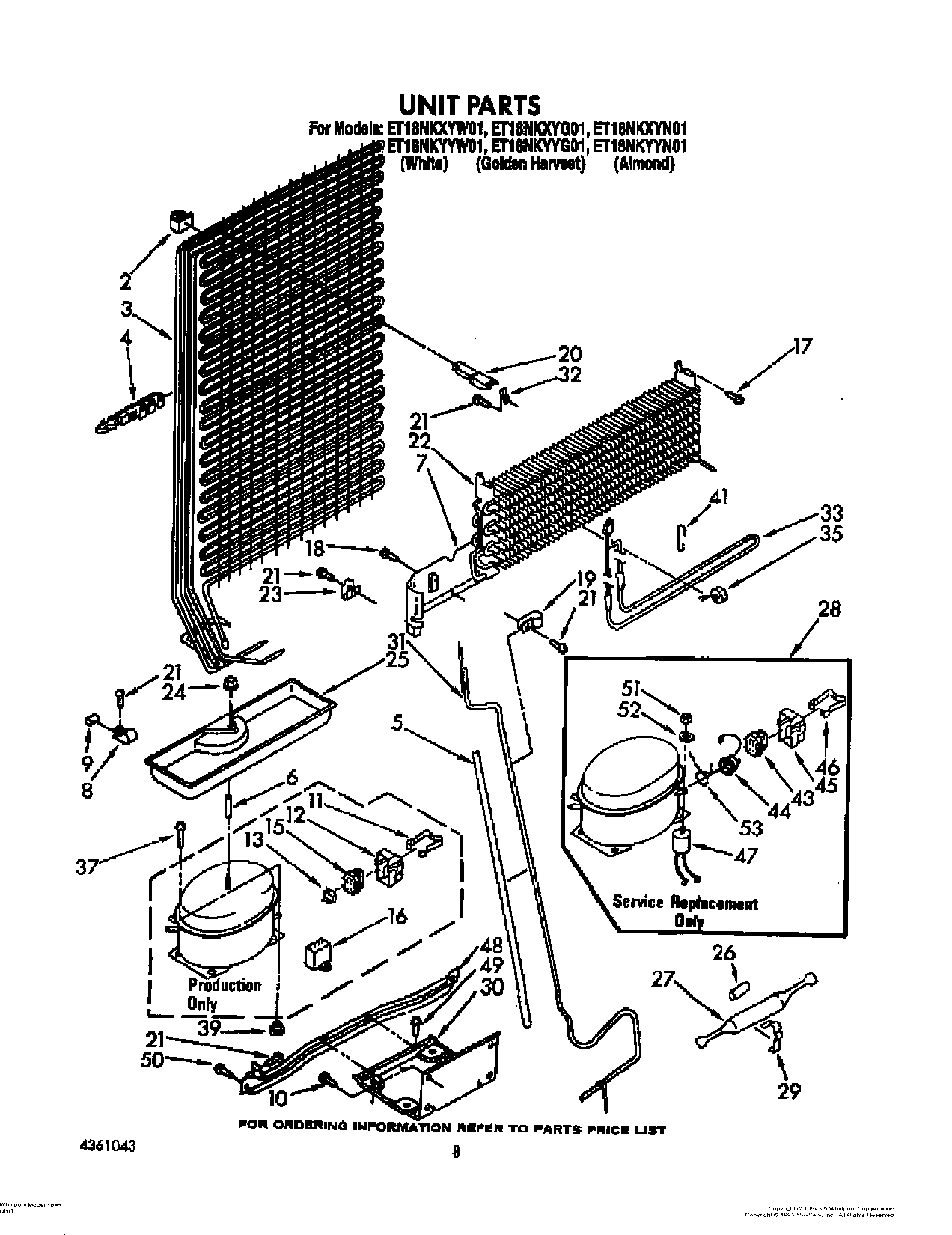
ET18NKYYN01 07 – UNIT