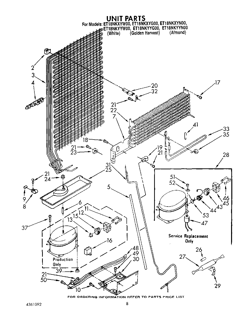
ET18NKYYW00 07 – UNIT