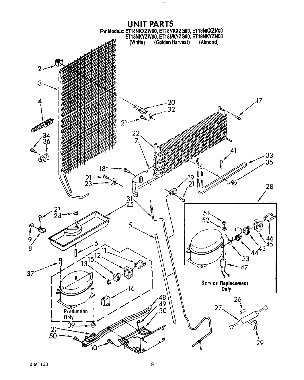
ET18NKYZN00 07 – UNIT