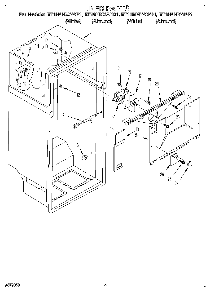
ET18NMXAN01 02 – LINER