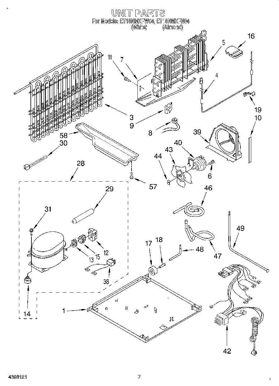
ET18NMXFW04 04 – UNIT