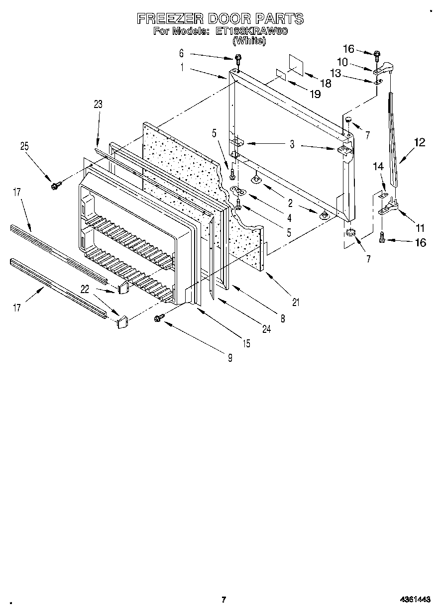
ET18SKRAW00 05 – FREEZER DOORadmin2025-04-26T12:55:19+00:00ET18SKRAW00 05 – FREEZER DOOR ProductsPositionProduct1Panel, Freezer Door (Also Order Item 21) (White)2Hole Plug (2) (Almond)2Hole Plug (2)3W10833053 Whirlpool Refrigerator Plate4Bracket, Door Stop5WP488921 Whirlpool Refrigerator Screw6WP8281206 Whirlpool Refrigerator Screw7WP2212648 Whirlpool Refrigerator Hinge Sleeve Hole Plug7Hole Plug (Almond)8Door Gasket Magnetic9WP489069 Whirlpool Compactor Screw10WP2191882 Whirlpool Refrigerator Handle End Cap11WP2191883 Whirlpool Refrigerator Handle Endcap12Handle, Center13Shim, Handle14Spa15Interior Door Panel16WP488920 Whirlpool Refrigerator Screw17TRIM-DOOR18Nameplate (White Model)19Tape Strip21WPL 87602922EndCap, Trim (4)23WPL 111513724WPL 111513825WP488729 Whirlpool Refrigerator Door Screw