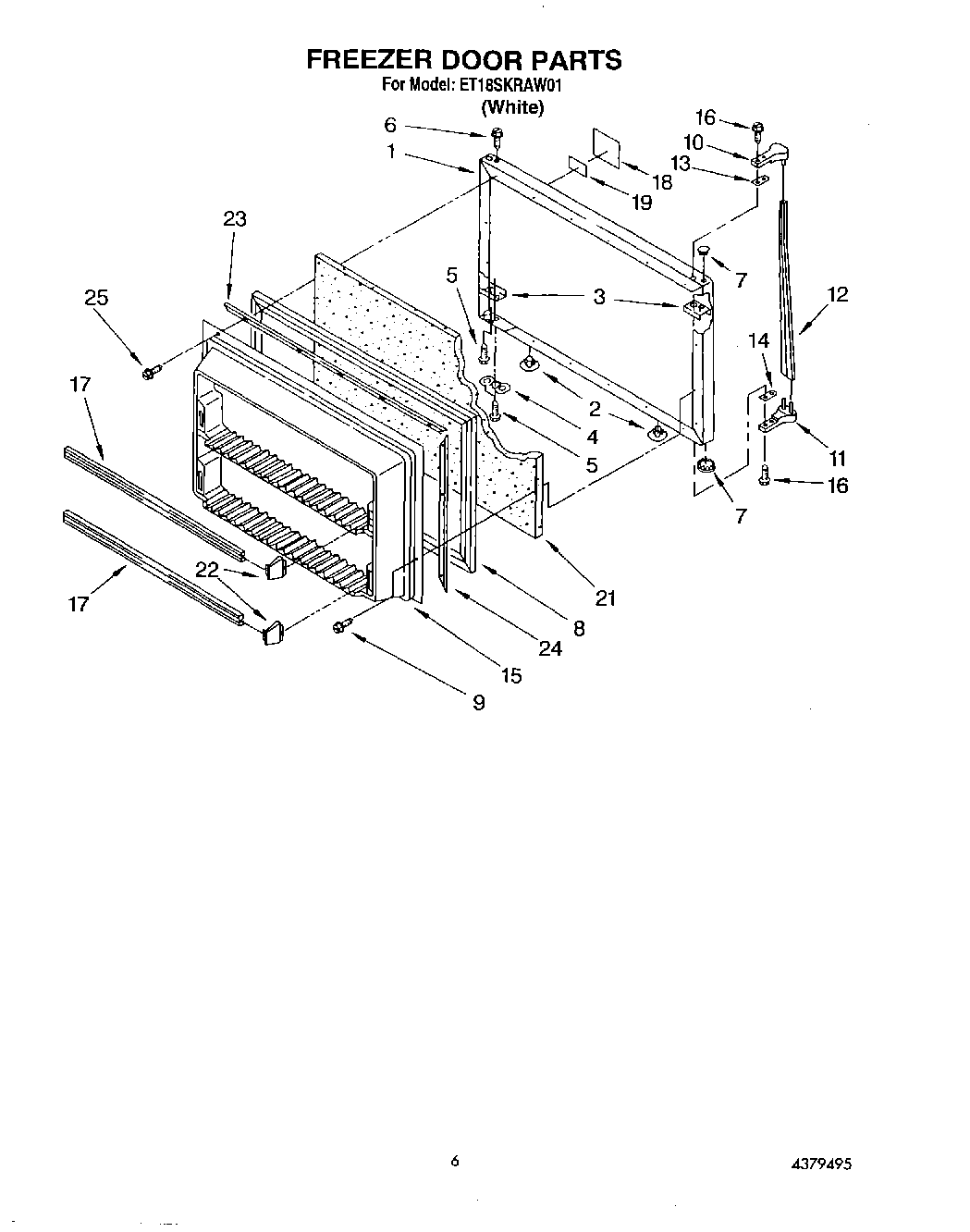
ET18SKRAW01 05 – FREEZER DOOR