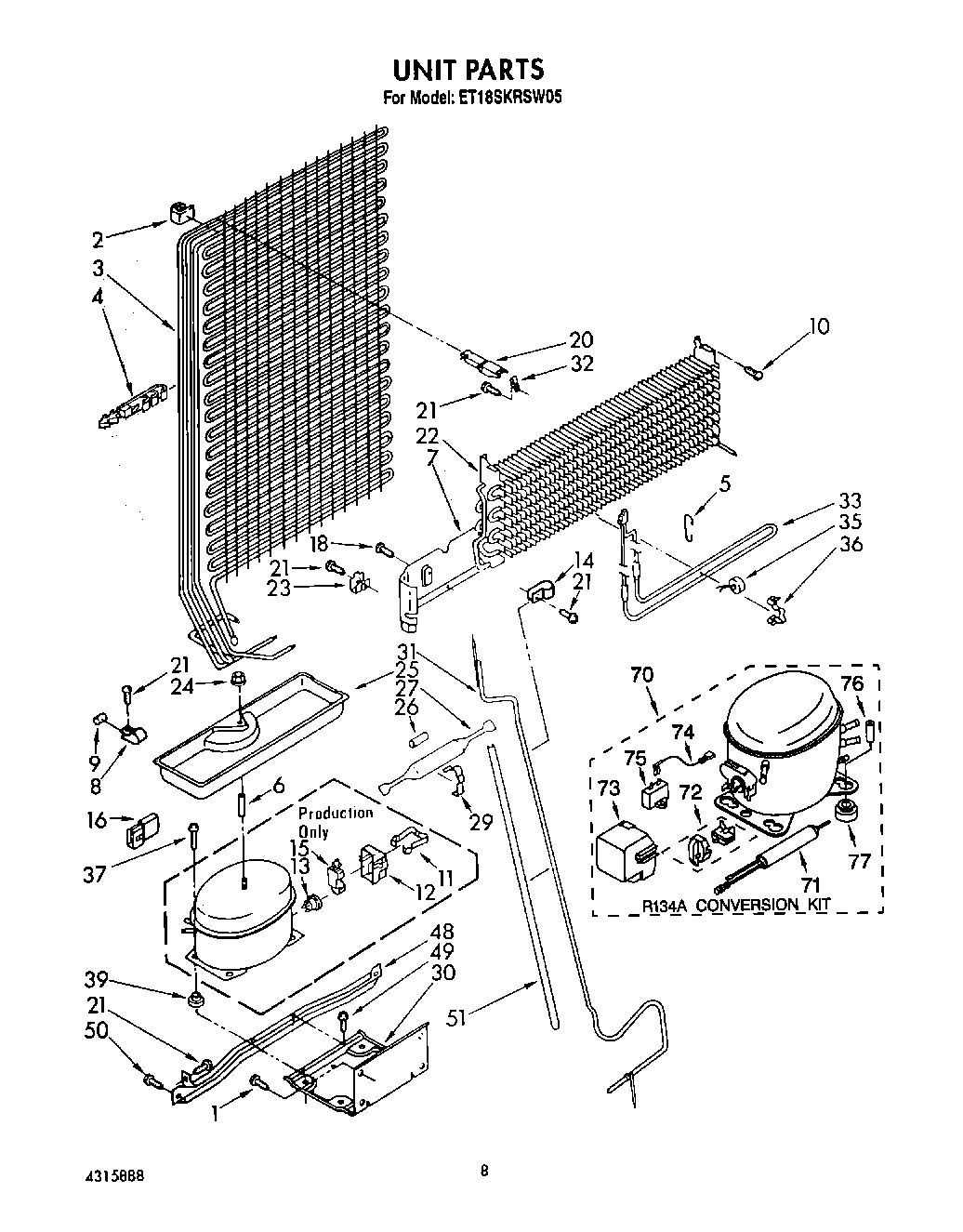
ET18SKRSW05 07 – UNIT