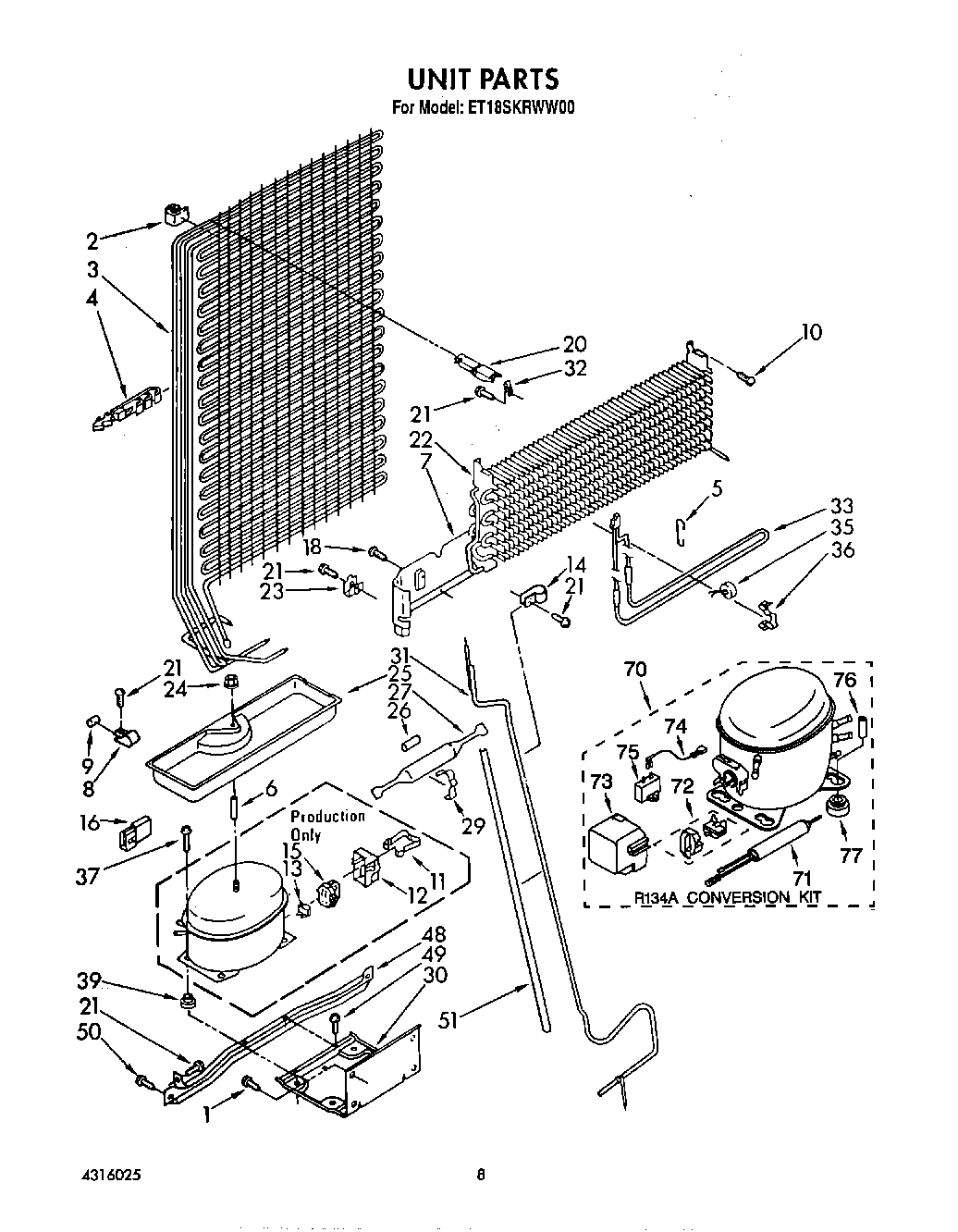
ET18SKRWW00 07 – UNIT

ET18SKRWW00 07 – UNIT