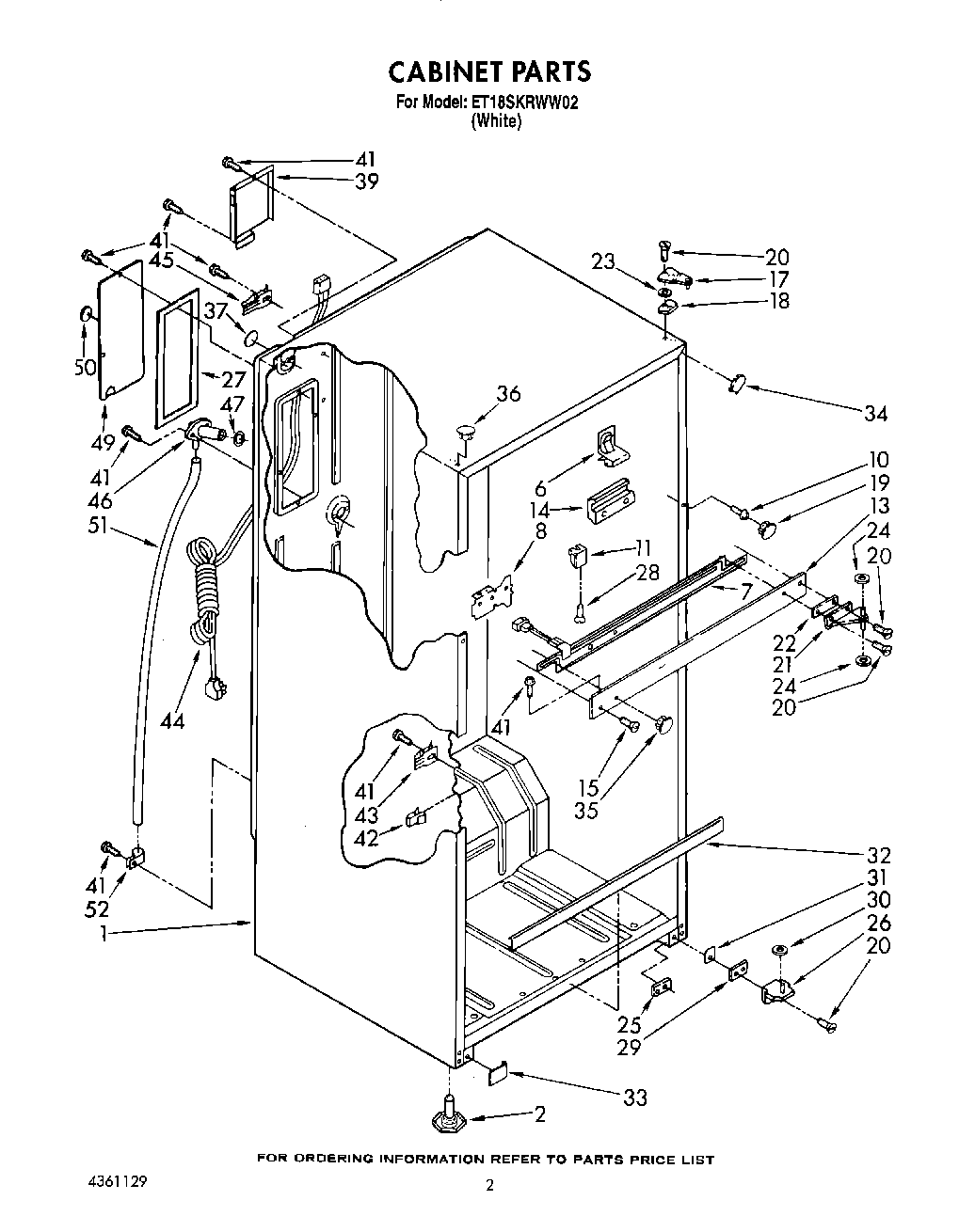
ET18SKRWW02 02 – CABINET