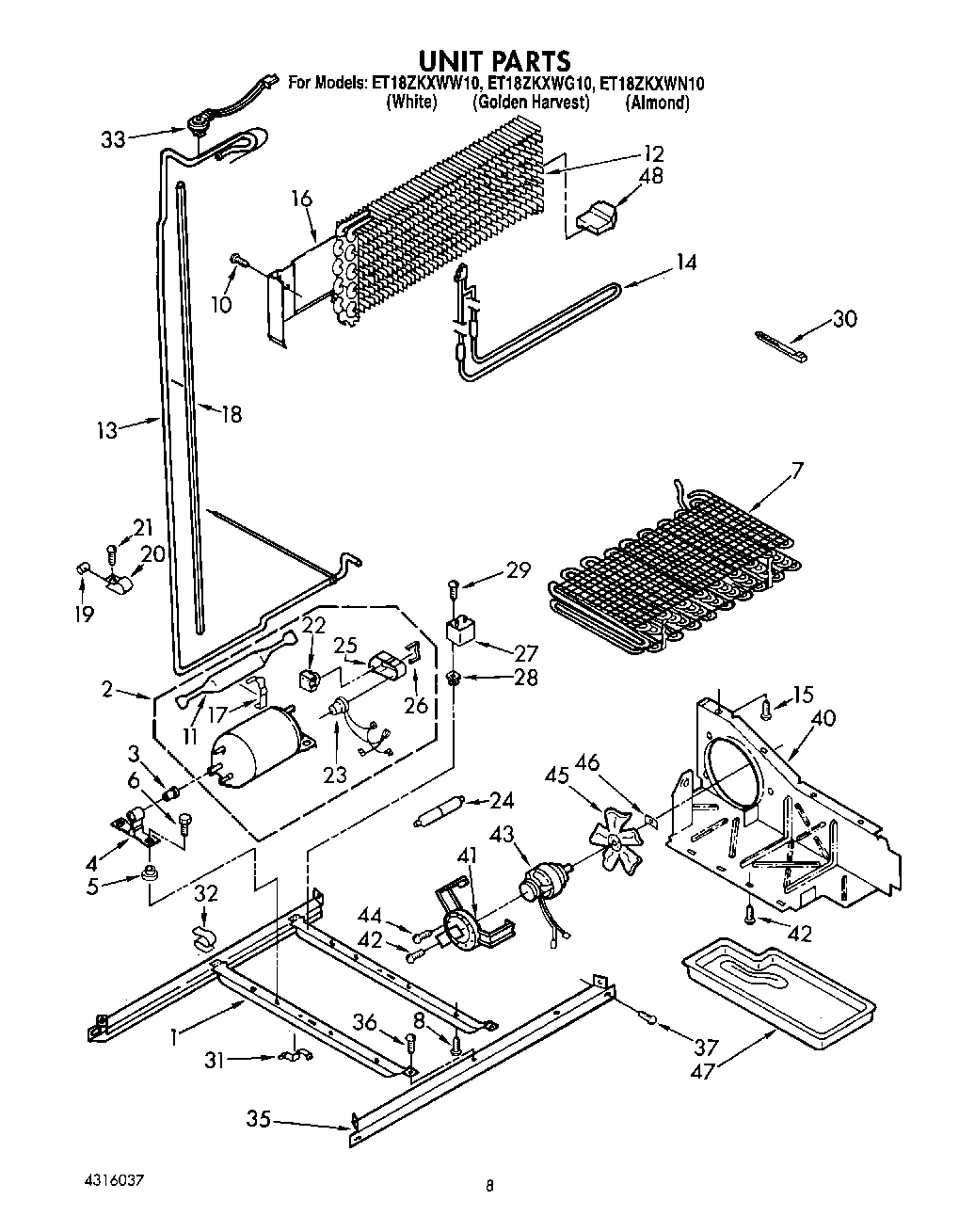
ET18ZKXWN10 06 – UNIT